授权公布号:CN210915241U
一种水果罐头加工用封口装置
有效
申请
2019-10-09
申请公布
1970-01-01
授权
2020-07-03
预估到期
2029-10-09
| 申请号 | CN201921680050.3 |
| 申请日 | 2019-10-09 |
| 授权公布号 | CN210915241U |
| 授权公告日 | 2020-07-03 |
| 分类号 | B67B3/14 |
| 分类 | 开启或封闭瓶子、罐或类似的容器;液体的贮运; |
| 申请人名称 | 安徽真心食品有限公司 |
| 申请人地址 | 安徽省合肥市肥东县新城开发区 |
专利法律状态
2020-07-03
授权
状态信息
授权
摘要
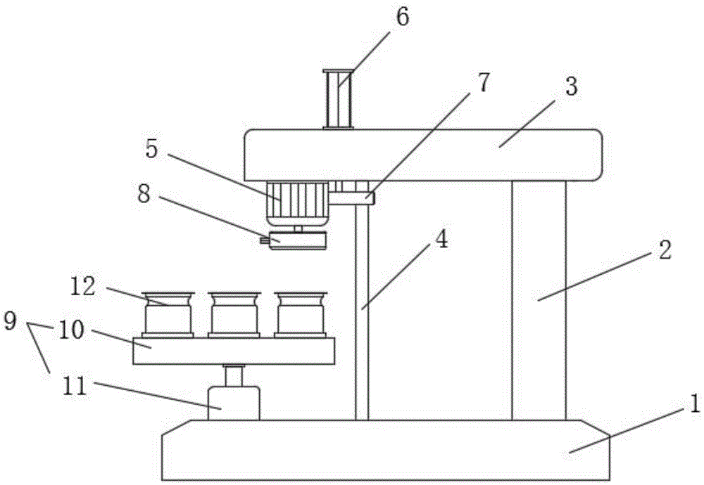
本实用新型公开了一种水果罐头加工用封口装置,属于食品加工技术领域,包括底座、封口机构和用于放置半成品罐头的置物台,所述底座的上表面设置支撑架,所述支撑架的顶端设有顶梁,所述顶梁的一端安装第一电机,所述封口机构由所述第一电机驱动,所述顶梁和所述底座之间设置导向杆,所述第一电机外壁通过连接杆与所述导向杆滑动连接,所述连接杆由液压杆驱动,所述封口机构包括防护罩,所述防护罩的内部安装压盖轮和封边轮,所述压盖轮与所述第一电机的电机轴连接,所述封边轮通过伸缩杆与所述防护罩外壁安装的电动推杆连接。通过在封口机构的压盖轮和封边轮外侧安装防护罩对两个轮子进行保护,避免损坏,延长装置的使用寿命。


