授权公布号:CN206927095U
瓜子储料罐
有效
申请
2017-06-22
申请公布
1970-01-01
授权
2018-01-26
预估到期
2027-06-22
| 申请号 | CN201720729531.3 |
| 申请日 | 2017-06-22 |
| 授权公布号 | CN206927095U |
| 授权公告日 | 2018-01-26 |
| 分类号 | B65D90/00;B65D88/74 |
| 分类 | 输送;包装;贮存;搬运薄的或细丝状材料; |
| 申请人名称 | 内蒙古轩达食品有限公司 |
| 申请人地址 | 内蒙古自治区巴彦淖尔市五原县隆兴昌镇红卫办事处荣丰工业园区 |
专利法律状态
2018-01-26
授权
状态信息
授权
摘要
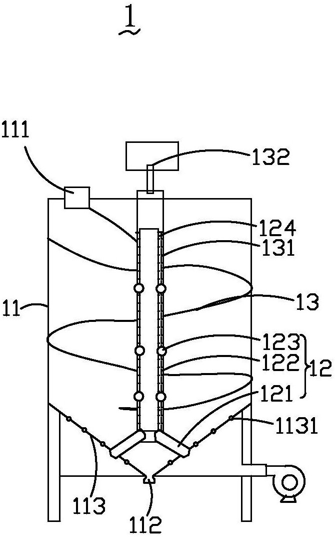
本实用新型提供一种瓜子储料罐。所述瓜子储料罐包括储料罐本体、中心轴支撑杆、螺旋旋转置料网及风机,所述中心轴支撑杆设于所述储料罐本体的中心轴位置,所述螺旋旋转置料网螺旋状以所述中心轴支撑杆为旋转轴螺旋式设于所述储料罐本体相对内部,所述螺旋旋转置料网为金属网丝结构,所述风机设于所述储料罐本体相对下部。本实用新型提供的一种瓜子储料罐采用所述螺旋旋转置料网的结构设计,可使瓜子以螺旋状置于所述储料罐本体中,可避免瓜子堆积在所述储料罐本体相对下方,可提高储料罐本体的通风度,改善瓜子的储存条件。


