授权公布号:CN216245372U
一种膨化食品干气密封干燥加工设备
有效
申请
2021-12-06
申请公布
1970-01-01
授权
2022-04-08
预估到期
2031-12-06
| 申请号 | CN202123039104.8 |
| 申请日 | 2021-12-06 |
| 授权公布号 | CN216245372U |
| 授权公告日 | 2022-04-08 |
| 分类号 | F26B11/22;F26B21/00;F26B23/00;F26B25/04;F26B25/18 |
| 分类 | 干燥; |
| 申请人名称 | 广东裕生食品工业有限公司 |
| 申请人地址 | 广东省汕头市大学路升平工业区金升八路裕生工业大厦 |
专利法律状态
2022-04-08
授权
状态信息
授权
摘要
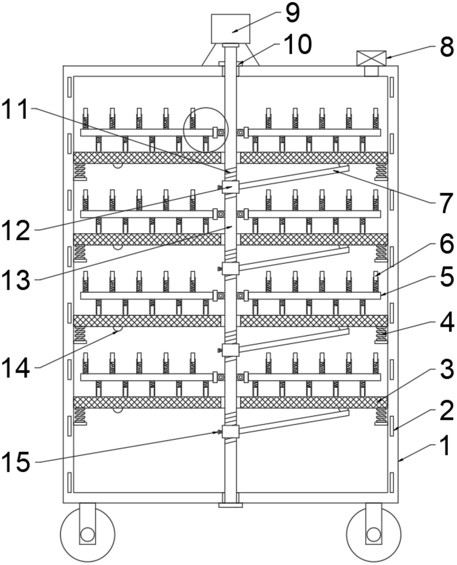
本实用新型适用于食品加工技术领域,提供了一种膨化食品干气密封干燥加工设备,包括:干燥筒,其内从上往下间隔设有多块放置网,放置网通过第一弹簧与干燥筒内侧壁连接;加热单元,用于加热干燥筒内的食品;搅拌单元,用于搅拌干燥筒内的食品,所述搅拌单元包括电机、搅拌轴、搅拌杆、内螺纹套和驱动杆;所述加热单元还包括热风组件,所述热风组件包括供风部件、第一气管、硬气管、支气管和固定环,设有干燥筒、加热单元和搅拌单元,放置网周向倾斜并晃动,有助于其上食品的运动,进一步使得食品受热充分、均匀,提高了干燥效率,设有热风组件,电热与风热同时进行干燥,干燥速度更快,喷气角度变化,扩大喷气范围,提高了风热干燥效率。


