授权公布号:CN213949173U
一种布袋传送笼
有效
申请
2020-12-11
申请公布
1970-01-01
授权
2021-08-13
预估到期
2030-12-11
| 申请号 | CN202022988139.5 |
| 申请日 | 2020-12-11 |
| 授权公布号 | CN213949173U |
| 授权公告日 | 2021-08-13 |
| 分类号 | B65D25/02 |
| 分类 | 输送;包装;贮存;搬运薄的或细丝状材料; |
| 申请人名称 | 杭州开元之江清洗连锁有限公司 |
| 申请人地址 | 浙江省杭州市萧山区所前镇恒发路7号 |
专利法律状态
2021-08-13
授权
状态信息
授权
摘要
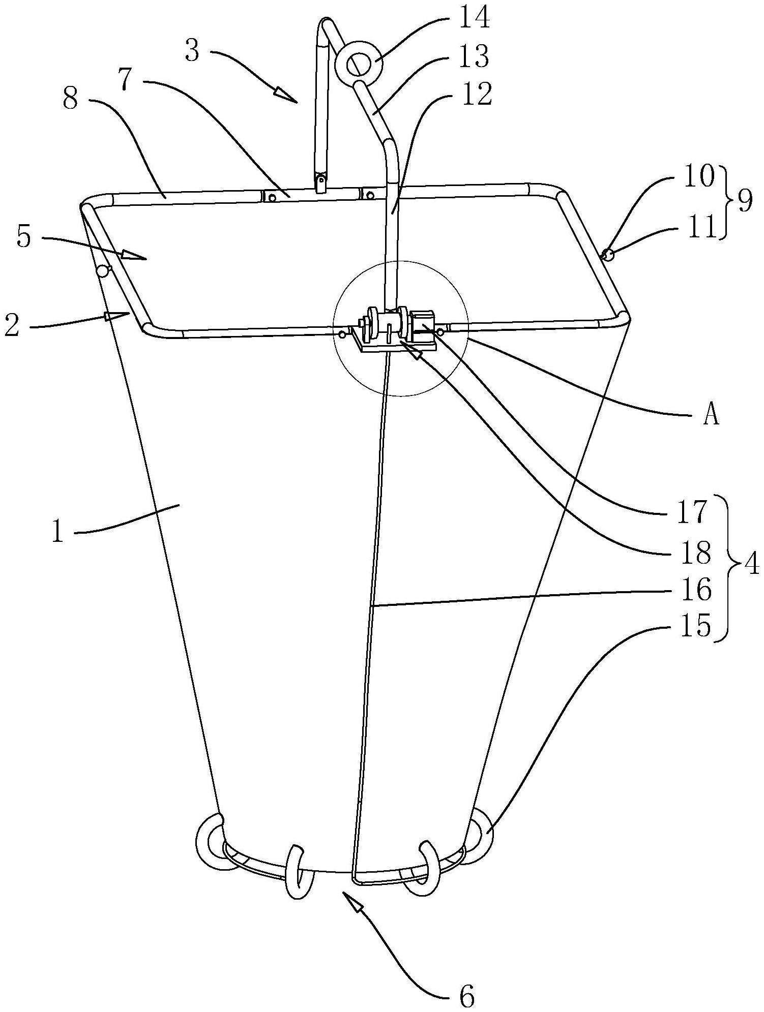
本申请涉及物料运输的领域,尤其是涉及一种布袋传送笼,其包括设有进料口和出料口的软袋、设于所述进料口处的支撑环、连接于所述支撑环的连接件、设于所述出料口处的收口组件,所述进料口设于所述软袋的顶部,所述出料口设于所述软袋的底部,所述支撑环沿所述进料口边缘呈环向延伸并与所述软袋固定连接,所述连接件用于连接挂钩,所述收口组件用于张开或封闭所述出料口。本申请具有增加每次被运输原料的量,提高运输效率的效果。


