授权公布号:CN214038341U
一种熨平机的热循环系统
有效
申请
2020-12-22
申请公布
1970-01-01
授权
2021-08-24
预估到期
2030-12-22
| 申请号 | CN202023122584.X |
| 申请日 | 2020-12-22 |
| 授权公布号 | CN214038341U |
| 授权公告日 | 2021-08-24 |
| 分类号 | F22B1/28;F22D11/06;F28B9/02 |
| 分类 | 蒸汽的发生; |
| 申请人名称 | 杭州开元之江清洗连锁有限公司 |
| 申请人地址 | 浙江省杭州市萧山区所前镇恒发路7号 |
专利法律状态
2021-08-24
授权
状态信息
授权
摘要
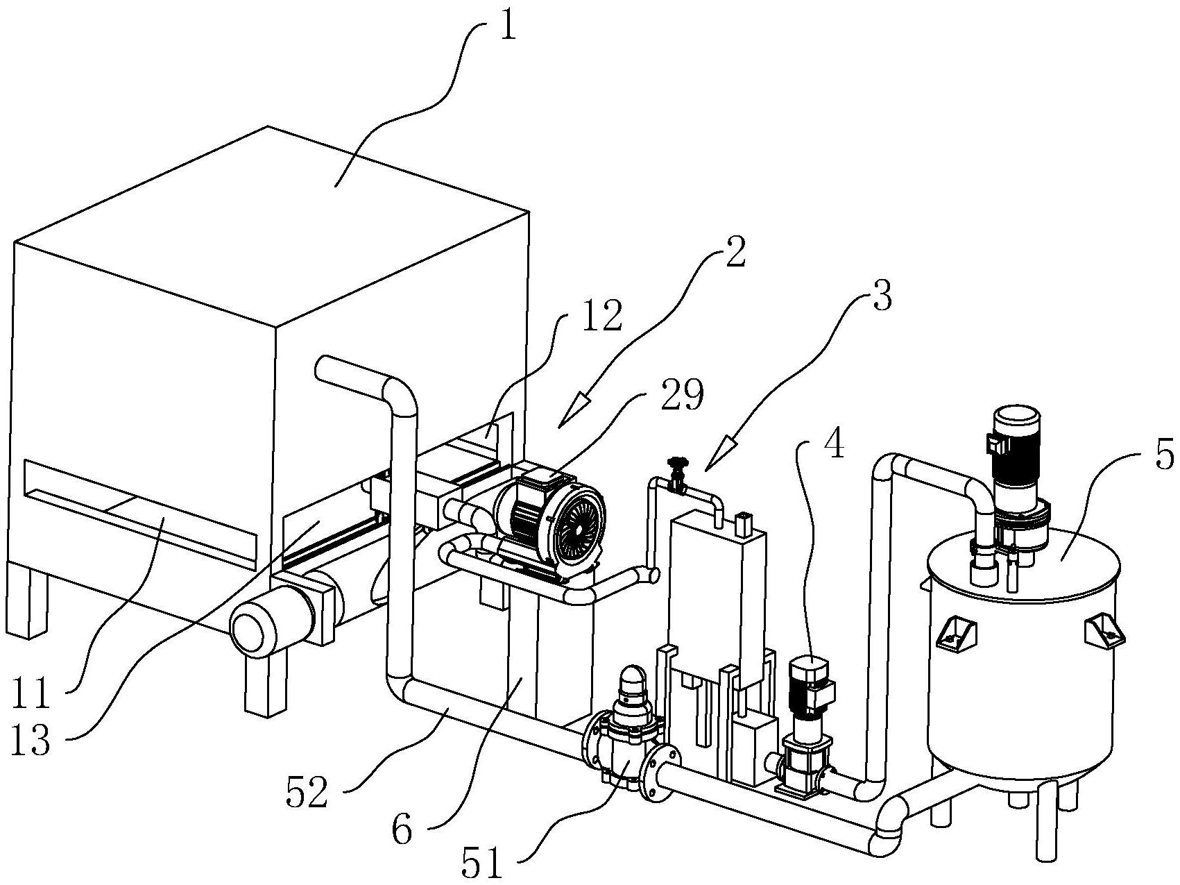
本申请涉及一种熨平机的热循环系统,其包括蒸汽收集机构、连通于蒸汽收集机构的冷凝机构、连通于冷凝机构输出端的水泵,水泵连通于蒸汽反应釜;蒸汽收集机构包括收集管、抽气泵,收集管一端连通于机箱内部,收集管远离机箱一端连通于抽气泵,抽气泵连通于冷凝机构输入端,蒸汽反应釜通过管道将蒸汽输送至熨槽中。工作时,抽气泵通过收集管将机箱中的水蒸气抽入到冷凝机构中,水蒸气在冷凝机构中进行冷却变为液态水,水泵将液态水输送至蒸汽反应釜中,液态水经过蒸汽反应釜的加工再次变成水蒸气,经过管道输送至机箱中的熨槽中,本申请具有能够对熨平机产生的蒸汽再次利用的效果。


