授权公布号:CN209286839U
一种卤水过滤装置
有效
申请
2018-11-20
申请公布
1970-01-01
授权
2019-08-23
预估到期
2028-11-20
| 申请号 | CN201821909125.6 |
| 申请日 | 2018-11-20 |
| 授权公布号 | CN209286839U |
| 授权公告日 | 2019-08-23 |
| 分类号 | B01D36/04 |
| 分类 | 一般的物理或化学的方法或装置; |
| 申请人名称 | 昆明冬冬食品有限公司 |
| 申请人地址 | 云南省昆明市安宁市太平新城 |
专利法律状态
2019-08-23
授权
状态信息
授权
摘要
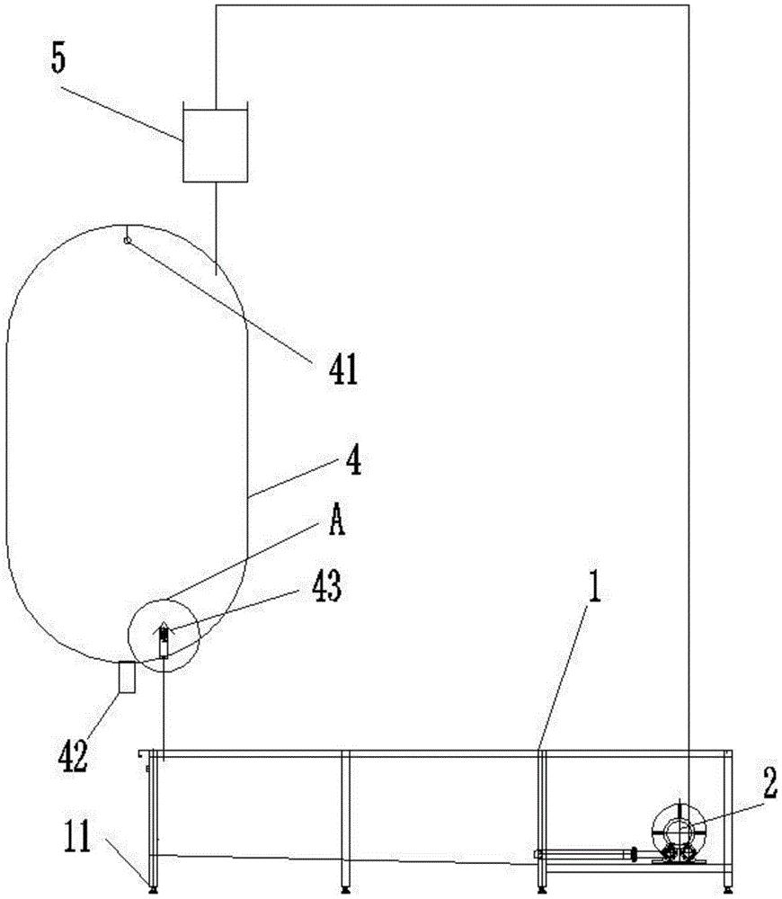
本实用新型公开了一种卤水过滤装置,它包括槽体、回流泵、卤水罐、初滤槽,所述槽体的两侧设置有支腿,所述回流泵安装在槽体内侧的底面上,所述回流泵的出口通过管道连接初滤槽的入液口,所述初滤槽设置在卤水罐的顶部,所述初滤槽内设置有过滤棉,所述卤水罐设置在槽体的顶部,所述初滤槽的出液口通过管道连接卤水罐的进液口,所述卤水罐的顶部设置有清洗头,所述卤水罐的底部设置有排污管,所述排污管的侧面设置有回流管,所述回流管通过管道连接至槽体内,所述回流管的顶部设置有伞状封盖,所述回流管顶端的侧面环形开设有回流孔。本实用新型的一种卤水过滤装置,可以循环使用卤水处理液,使用方便,操作简单。


