授权公布号:CN215138243U
一种新型旋风气尘高效分离过滤系统
有效
申请
2021-04-30
申请公布
1970-01-01
授权
2021-12-14
预估到期
2031-04-30
| 申请号 | CN202120943408.8 |
| 申请日 | 2021-04-30 |
| 授权公布号 | CN215138243U |
| 授权公告日 | 2021-12-14 |
| 分类号 | B01D50/00;B01D45/16 |
| 分类 | 一般的物理或化学的方法或装置; |
| 申请人名称 | 广东一家人食品有限公司 |
| 申请人地址 | 广东省汕头市金平区荣升科技园内C2、G2之三号 |
专利法律状态
2021-12-14
授权
状态信息
授权
摘要
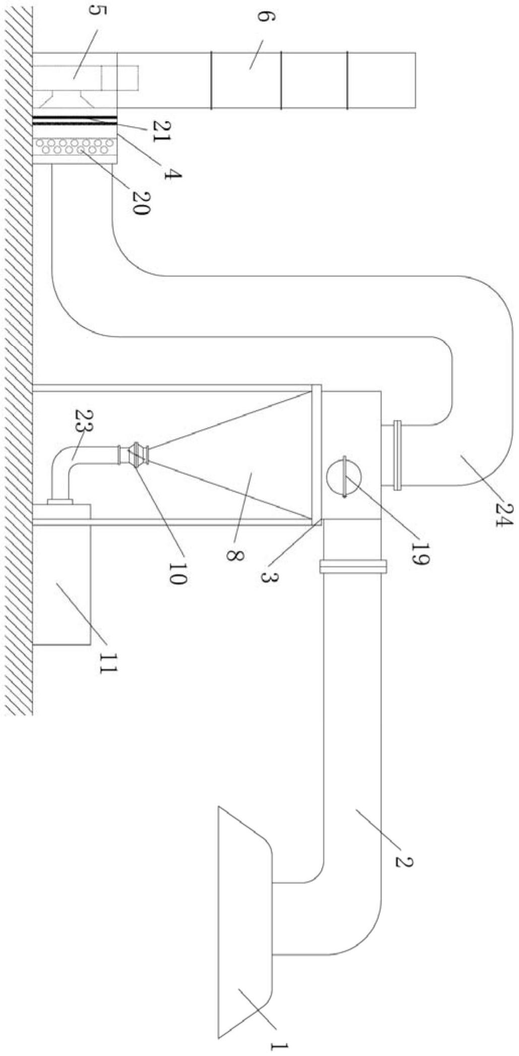
本实用新型公开了一种新型旋风气尘高效分离过滤系统。其包括抽气罩体,引流管,旋风分离机构,除尘过滤机构,抽气机构,排风管,旋风分离机构包括进气管、旋风锥形筒体、出气管,进气管沿切线设置在旋风锥形筒体上端部一侧,所述气管的出气口边缘顶部设有向下倾斜的第一挡灰板,进气管的出气口与旋风锥形筒体内壁对侧的垂边上设有向内倾斜的第二挡灰板,出气管底部设有导风罩,在导风罩内设有内凹挡板,内凹挡板顶部设有挡尘凹槽。本实用新型的增益效果是:本实用新型通过改进旋风分离机构的进风口和出风管的结构设计,提高了气尘分离效果,多段过滤处理结构设置,使得处理后排出气体洁净度高,不会对环境造成污染,实用性强,适用范围广。


