授权公布号:CN211593510U
一种具有双料组合装置的牙膏头
有效
申请
2020-01-19
申请公布
1970-01-01
授权
2020-09-29
预估到期
2030-01-19
| 申请号 | CN202020111755.X |
| 申请日 | 2020-01-19 |
| 授权公布号 | CN211593510U |
| 授权公告日 | 2020-09-29 |
| 分类号 | B65D35/10;B65D35/24 |
| 分类 | 输送;包装;贮存;搬运薄的或细丝状材料; |
| 申请人名称 | 义乌市嘉奇食品有限公司 |
| 申请人地址 | 浙江省金华市义乌市后宅街道神舟路322号 |
专利法律状态
2020-09-29
授权
状态信息
授权
摘要
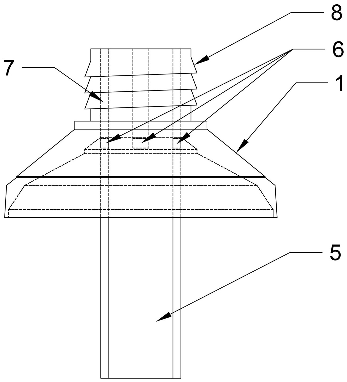
本实用新型涉及一种具有双料组合装置的牙膏头,解决了现有技术中存在的牙膏头挤出牙膏颜色单一,功效单一,口味单一的技术问题。本实用新型一种具有双料组合装置的牙膏头,在所述牙膏头内部设有一根内管,内管的前端与牙膏头嘴持平,内管的前段外侧壁设有至少一个第一种流质出料通道,所述第一种流质出料通道前端与牙膏头嘴持平,所述第一种流质出料通道与内管相互平行。本实用新型具有能将不同流质或不同颜色同时挤出的特点。


