授权公布号:CN211644095U
一种棉花泡泡糖包装机翻转式切料机构
有效
申请
2019-12-30
申请公布
1970-01-01
授权
2020-10-09
预估到期
2029-12-30
| 申请号 | CN201922434791.X |
| 申请日 | 2019-12-30 |
| 授权公布号 | CN211644095U |
| 授权公告日 | 2020-10-09 |
| 分类号 | B65H35/08 |
| 分类 | 输送;包装;贮存;搬运薄的或细丝状材料; |
| 申请人名称 | 义乌市嘉奇食品有限公司 |
| 申请人地址 | 浙江省金华市义乌市后宅街道神舟路322号 |
专利法律状态
2020-10-09
授权
状态信息
授权
摘要
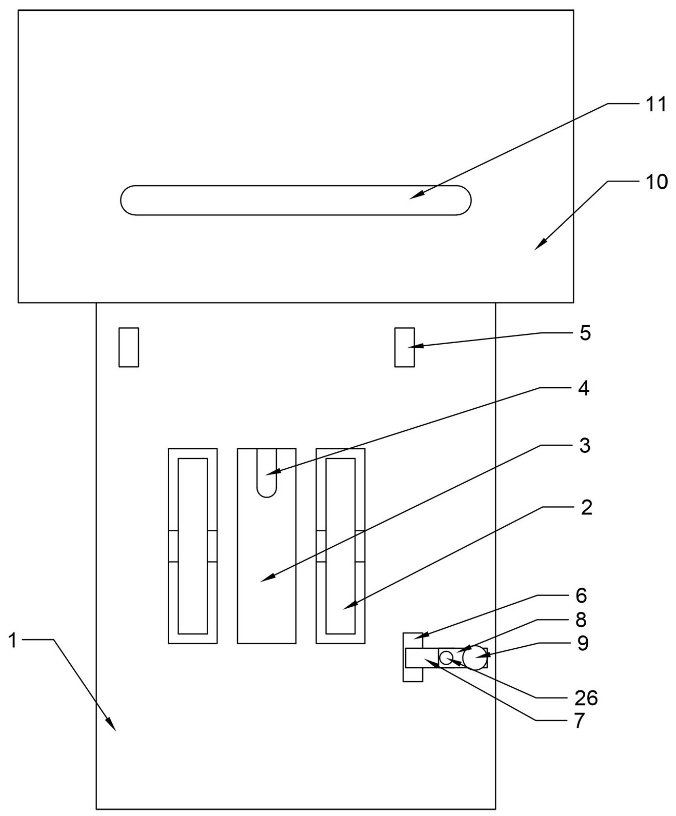
本实用新型涉及一种棉花泡泡糖包装机翻转式切料机构,解决了现有技术中存在的无防滑部,切割容易出现误差,切料机构操作复杂,维护困难的技术问题。本实用新型包括工作台,在所述工作台上方设有翻盖,所述翻盖通过转轴固定在工作台上,在所述翻盖上设有切割部和若干从动轴,所述从动轴上套设有防滑部,所述切割部通过第一驱动装置驱动;在所述工作台上开设有切割槽,在切割槽的两侧设有传送装置,所述传送装置通过第二驱动装置驱动,所述切割槽和切割部相对应。本实用新型具有带有防滑部,切割呈直线;切割部能翻转,方便维护;操作简单,安全性高的特点。


