授权公布号:CN220520268U
一种用于矿泉水生产的消毒装置
有效
申请
2023-05-08
申请公布
1970-01-01
授权
2024-02-23
预估到期
2033-05-08
| 申请号 | CN202321077994.8 |
| 申请日 | 2023-05-08 |
| 授权公布号 | CN220520268U |
| 授权公告日 | 2024-02-23 |
| 分类号 | C02F1/78 |
| 分类 | 水、废水、污水或污泥的处理; |
| 申请人名称 | 保山迷你食品有限公司 |
| 申请人地址 | 云南省保山市隆阳区汉庄镇汉庄村 |
专利法律状态
2024-02-23
授权
状态信息
授权
摘要
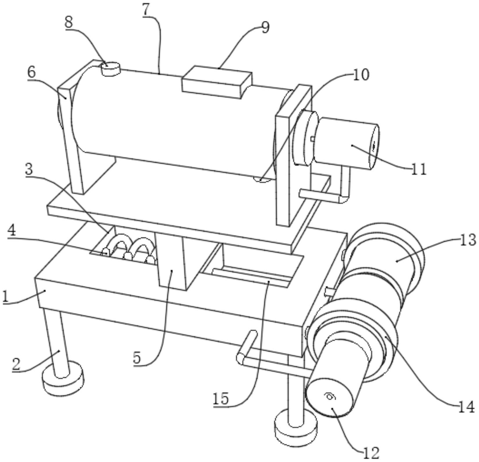
本实用新型公开了一种用于矿泉水生产的消毒装置,涉及矿泉水生产技术领域。本实用新型包括底板,底板内开设有顶槽,顶槽内设置有移动板,移动板与顶槽滑动连接,移动板与顶槽之间设置有连接弹簧,连接弹簧的两端分别与移动板和顶槽弹性连接,底板的侧面设置有限位环,限位环内设置有转杆,转杆与限位环转动连接,转杆与移动板之间设置有钢索,钢索的一端与转杆绕接,钢索的另一端与移动板固定连接。本实用新型通过设置步进电机、转杆、限位环、第一齿牙、第二齿牙、连接弹簧和钢索的配合使用,可以使消毒罐晃动,进而使消毒罐内的水体与臭氧均匀的接触,提高对水体的消毒效果,避免存在消毒死角,使整个消毒装置在使用时更加的实用。


