授权公布号:CN112110406B
一种食用油灌装系统及其工作方法
有效
申请
2020-09-21
申请公布
2020-12-22
授权
2022-05-03
预估到期
2040-09-21
| 申请号 | CN202010998619.1 |
| 申请日 | 2020-09-21 |
| 申请公布号 | CN112110406A |
| 申请公布日 | 2020-12-22 |
| 授权公布号 | CN112110406B |
| 授权公告日 | 2022-05-03 |
| 分类号 | B67C3/26;B67C3/24;B67C7/00 |
| 分类 | 开启或封闭瓶子、罐或类似的容器;液体的贮运; |
| 申请人名称 | 湖南亚美茶油股份有限公司 |
| 申请人地址 | 湖南省株洲市攸县攸州工业园兴业路 |
专利法律状态
2022-05-03
授权
状态信息
授权
2020-12-22
公布
状态信息
公布
摘要
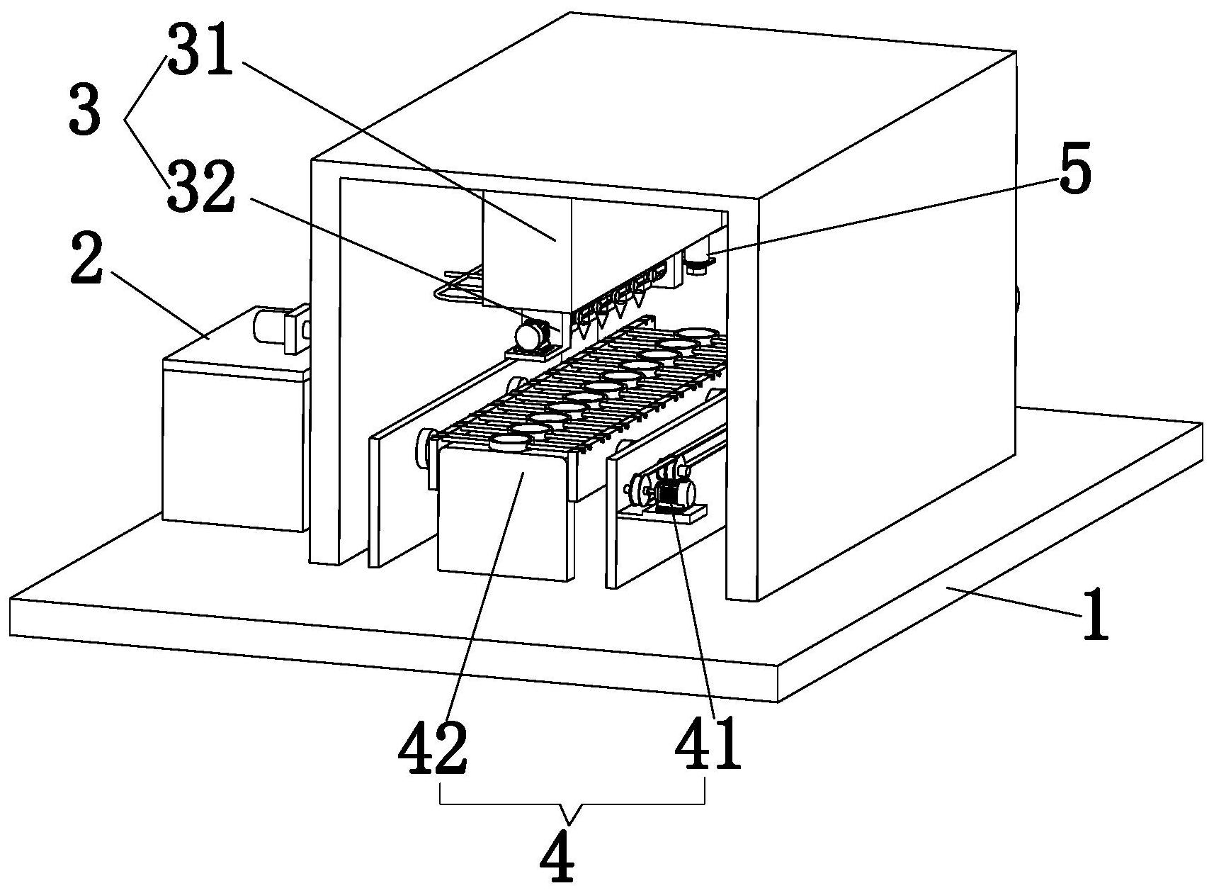
本发明属于一种食用油灌装系统及其工作方法,食用油灌装系统包括工作台、食用油上料机构、食用油运输机构、油罐运输机构和油罐上盖机构,所述食用油上料机构、食用油运输机构、油罐运输机构和油罐上盖机构均设置在工作台上,所述食用油上料机构与食用油运输机构连接,所述食用油运输机构设置在油罐运输机构的上方,所述食用油运输机构与油罐运输机构上下对应;可以解决现有技术中灌装组件通过垂直状态的出油会形成溅射的情况,以及油罐在输送带上进行运输时位置不容易固定,导致运输设备停止时灌装组件与灌口的位置不对应,导致罐口在于灌装组件对应时可能会形成位置偏差,同样会使部分的食用油在装罐时喷洒在罐外,造成浪费的情况。


