授权公布号:CN111921701B
一种茶油生产用磁选装置及其磁选方法
有效
申请
2019-09-12
申请公布
2020-11-13
授权
2022-05-17
预估到期
2039-09-12
| 申请号 | CN202010808919.9 |
| 申请日 | 2019-09-12 |
| 申请公布号 | CN111921701A |
| 申请公布日 | 2020-11-13 |
| 授权公布号 | CN111921701B |
| 授权公告日 | 2022-05-17 |
| 分类号 | B03C1/02;C11B1/04 |
| 分类 | 用液体或用风力摇床或风力跳汰机分离固体物料;从固体物料或流体中分离固体物料的磁或静电分离;高压电场分离〔5〕; |
| 申请人名称 | 湖南亚美茶油股份有限公司 |
| 申请人地址 | 湖南省株洲市攸县攸州工业园兴业路 |
专利法律状态
2022-05-17
授权
状态信息
授权
2020-11-13
公布
状态信息
公布
摘要
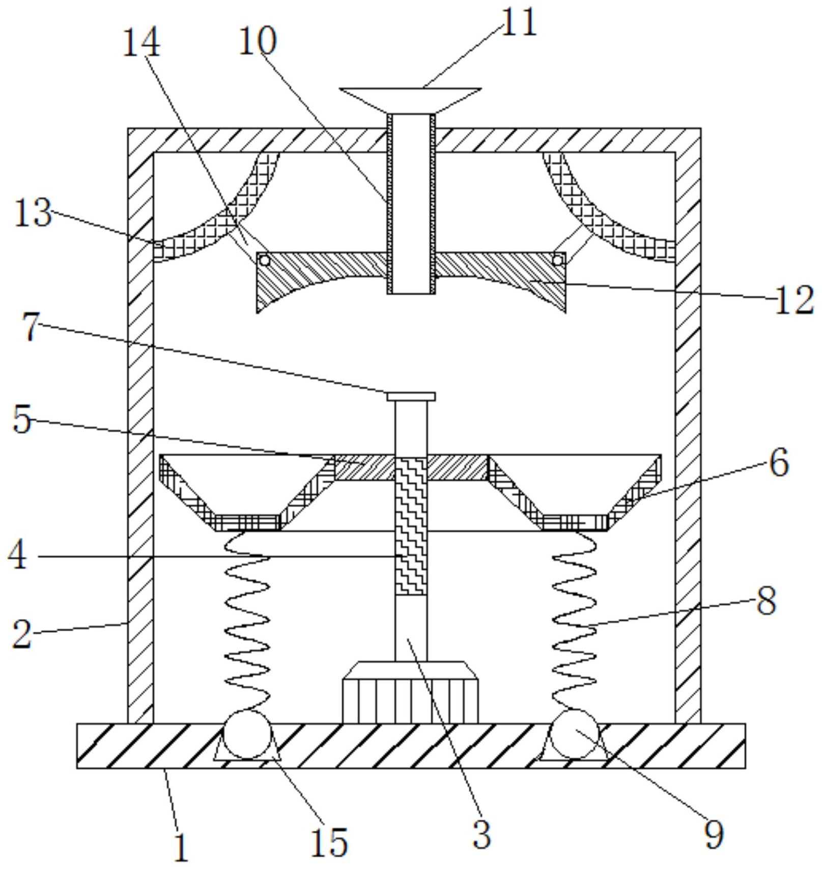
本发明涉及茶油加工技术领域,且公开了一种茶油生产用磁选装置及其磁选方法,包括底板和壳体,壳体的内部固定设置有旋转轴,旋转轴的中部设置为螺旋轴,螺旋轴上套接有支撑板,支撑板的外圈连接有壳腔,壳腔的底部固定连接有弹簧,壳体的上壁固定连接有送料管,送料管的管身上固定连接有连接柱,送料管通过连接柱铰接有上磁板,壳体内部的左上方与右上方均固定连接有弧形弹板,弧形弹板与上磁板之间连接有连杆。该茶油生产用磁选装置,可通过支撑板的离心力与磁性来完成对支撑板上油茶籽的磁选,且能使支撑板上油茶籽在被抛飞的同时还能被翻转,使装置对油茶籽的磁选更加彻底,具备可对油茶籽进行翻转抛旋,且能进行多重磁选的优点。


