授权公布号:CN219023265U
一种薄膜滚动式蒸发器
有效
申请
2022-12-30
申请公布
1970-01-01
授权
2023-05-16
预估到期
2032-12-30
| 申请号 | CN202223563606.5 |
| 申请日 | 2022-12-30 |
| 授权公布号 | CN219023265U |
| 授权公告日 | 2023-05-16 |
| 分类号 | B01D1/22;B01D1/30 |
| 分类 | 一般的物理或化学的方法或装置; |
| 申请人名称 | 晨光生物科技集团股份有限公司 |
| 申请人地址 | 河北省邯郸市曲周县晨光路1号 |
专利法律状态
2023-05-16
授权
状态信息
授权
摘要
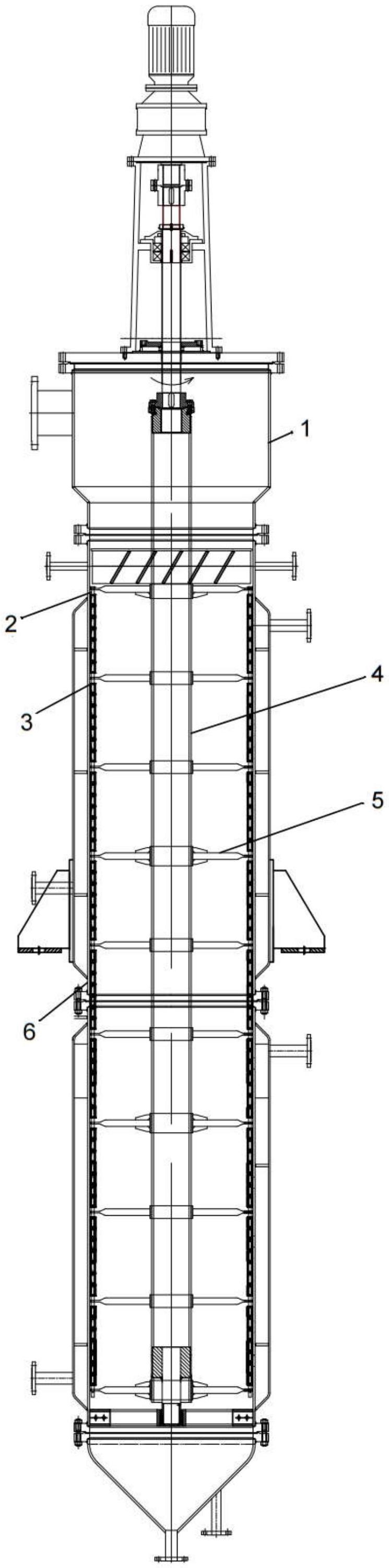
本实用新型公开了一种薄膜滚动式蒸发器,属于化工提取设备技术领域,包括蒸发器壳体以及设置在中心的在电机驱动下转动的主轴,所述主轴圆周外通过支架连接有多根竖直安装的穿杆,穿杆外由上至下套接有多个可绕着穿杆自由转动的四氟空心滚柱,主轴转动时,四氟空心滚柱在离心作用下与蒸发器壳体的薄膜内壁滚动接触。本实用新型结构合理、运行稳定可靠,能够避免薄膜内壁以及铺液配件的较大磨损,并且避免磨损的碎屑掉入溶液中污染产品,增加了设备使用年限,适合食品行业提取加工使用。


