授权公布号:CN212951934U
一种便于调节流量的食用油瓶盖
有效
申请
2020-06-29
申请公布
1970-01-01
授权
2021-04-13
预估到期
2030-06-29
| 申请号 | CN202021229108.5 |
| 申请日 | 2020-06-29 |
| 授权公布号 | CN212951934U |
| 授权公告日 | 2021-04-13 |
| 分类号 | B65D47/08 |
| 分类 | 输送;包装;贮存;搬运薄的或细丝状材料; |
| 申请人名称 | 武汉福达食用油调料有限公司 |
| 申请人地址 | 湖北省武汉市汉阳区黄金口工业园金色环路9号 |
专利法律状态
2021-04-13
授权
状态信息
授权
摘要
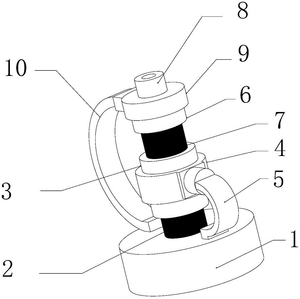
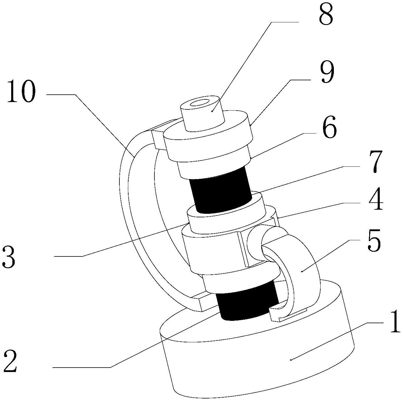
本实用新型公开了一种便于调节流量的食用油瓶盖,属于容器包装物领域,该便于调节流量的食用油瓶盖,包括瓶盖本体,所述瓶盖本体的顶端固定安装有第一出油嘴,所述第一出油嘴的顶端螺纹连接有第二出油套。该便于调节流量的食用油瓶,通过设置第一出油嘴、第二出油嘴以及第三出油嘴,使得能够对瓶盖本体的出油量进行控制,当需要较大出油量时只需将第一出油嘴处螺纹连接的出油装置取下,即可达到大流量的出油,当需要中流量的出油时,将第二出油嘴螺纹连接于第一出油嘴处,即可完成调节,当需要小流量的出油时,将第三出油嘴螺纹连接于第一出油嘴处或是已经安装的第二出油嘴处,即可完成小流量的调节,调节十分方便。


