授权公布号:CN219376308U
一种食用油生产加工的滤网清渣装置
有效
申请
2023-03-07
申请公布
1970-01-01
授权
2023-07-21
预估到期
2033-03-07
| 申请号 | CN202320411108.4 |
| 申请日 | 2023-03-07 |
| 授权公布号 | CN219376308U |
| 授权公告日 | 2023-07-21 |
| 分类号 | B01D29/96;B01D29/01;B01D29/94;C11B3/00 |
| 分类 | 一般的物理或化学的方法或装置; |
| 申请人名称 | 武汉福达食用油调料有限公司 |
| 申请人地址 | 湖北省武汉市汉阳区黄金口工业园金色环路9号 |
专利法律状态
2023-07-21
授权
状态信息
授权
摘要
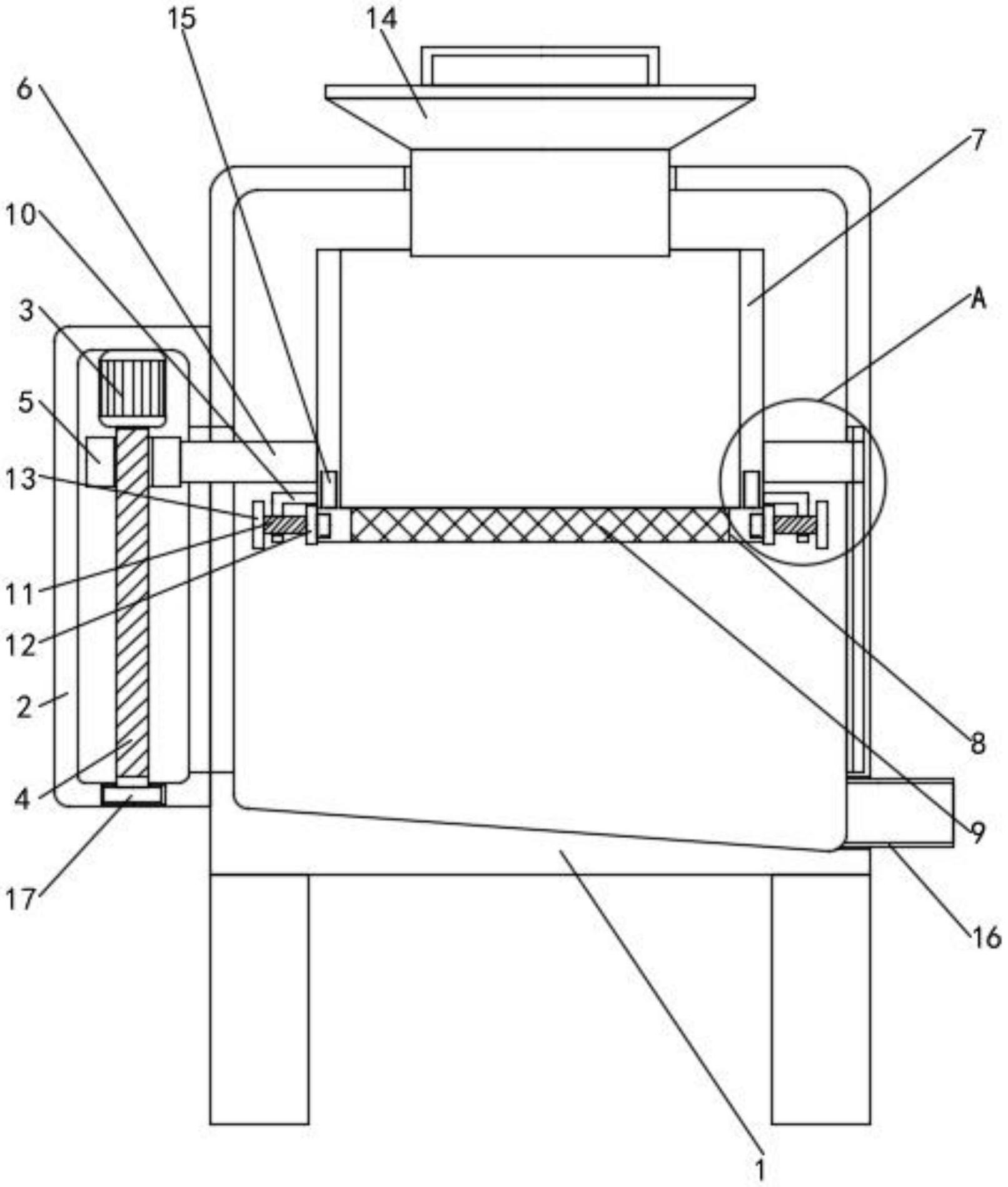
本实用新型涉及一种食用油生产加工的滤网清渣装置,包括过滤箱,所述过滤箱的左侧固定连接有驱动箱,所述驱动箱内侧的顶部固定连接有电动机,所述电动机的输出轴固定连接有螺纹杆,所述螺纹杆的外侧螺纹连接有螺纹块,所述螺纹块的右侧固定连接有活动方块,所述活动方块的右侧固定连接有固定框,所述固定框的底部活动连接有过滤方框,所述过滤方框的内侧固定连接有过滤网,所述固定框的左侧两侧均固定连接有固定螺架。该食用油生产加工的滤网清渣装置,整体结构简单,实现了滤网便于清渣的目的,避免滤网在对食用油原料进行过滤的过程中发生堵塞的现象,保证了滤网对食用油原料过滤的效果,提高低了滤网的使用效率和使用效果。


