授权公布号:CN110747055B
一种菜籽油压榨过滤系统及其压榨过滤方法
有效
申请
2019-11-18
申请公布
2020-02-04
授权
2021-04-02
预估到期
2039-11-18
| 申请号 | CN201911124870.9 |
| 申请日 | 2019-11-18 |
| 申请公布号 | CN110747055A |
| 申请公布日 | 2020-02-04 |
| 授权公布号 | CN110747055B |
| 授权公告日 | 2021-04-02 |
| 分类号 | C11B3/00;C11B1/06;B01D33/01 |
| 分类 | 动物或植物油、脂、脂肪物质或蜡;由此制取的脂肪酸;洗涤剂;蜡烛; |
| 申请人名称 | 武汉福达食用油调料有限公司 |
| 申请人地址 | 湖北省武汉市汉阳区黄金口工业园金色环路9号 |
专利法律状态
2021-04-02
授权
状态信息
授权
2021-03-26
专利申请权、专利权的转移
状态信息
专利申请权的转移;IPC(主分类):C11B1/06;专利申请号:2019111248709;登记生效日:20210316;变更事项:申请人;变更前权利人:李军妹;变更后权利人:武汉福达食用油调料有限公司;变更事项:地址;变更前权利人:213001 江苏省常州市新北区孟河镇黄山村委新圩路38号;变更后权利人:430050 湖北省武汉市汉阳区黄金口工业园金色环路9号
2020-02-28
实质审查的生效
状态信息
实质审查的生效;IPC(主分类):C11B1/06;专利申请号:2019111248709;申请日:20191118
2020-02-04
公布
状态信息
公布
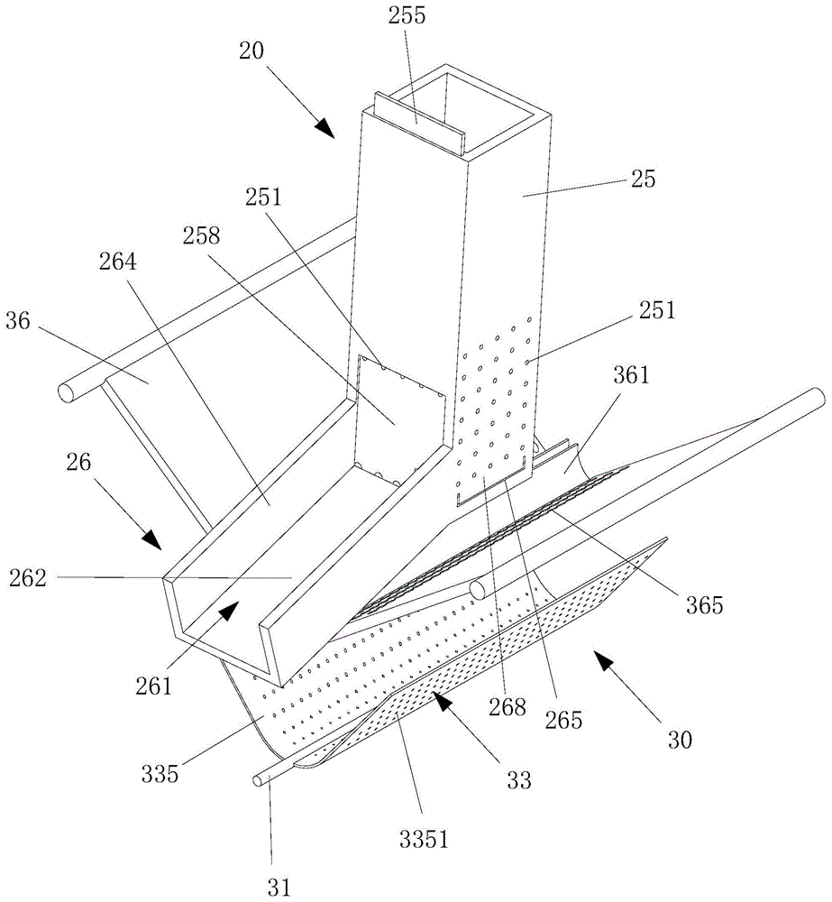
摘要
本发明涉及一种菜籽油压榨过滤系统以及压榨过滤方法。所述菜籽油压榨过滤系统包括收容底框、压榨组件及过滤组件,所述收容底框内形成有收容空间,所述压榨组件包括压榨动力件、压榨件与压榨框,所述压榨动力件设置于所述收容底框的上方,所述压榨件连接于所述压榨动力件的输出轴上,所述压榨框固定于所述收容底框的上方,所述压榨件活动地插设于所述压榨框内。所述菜籽油压榨过滤系统的过滤效率较高。


