授权公布号:CN212437195U
一种用于料酒加工工艺的提纯装置
有效
申请
2020-04-08
申请公布
1970-01-01
授权
2021-02-02
预估到期
2030-04-08
| 申请号 | CN202020497857.X |
| 申请日 | 2020-04-08 |
| 授权公布号 | CN212437195U |
| 授权公告日 | 2021-02-02 |
| 分类号 | A23L27/24;B01D33/01 |
| 分类 | 其他类不包含的食品或食料;及其处理; |
| 申请人名称 | 湖南省长康实业有限责任公司 |
| 申请人地址 | 湖南省岳阳市湘阴县长康粮站南路1号 |
专利法律状态
2021-02-02
授权
状态信息
授权
摘要
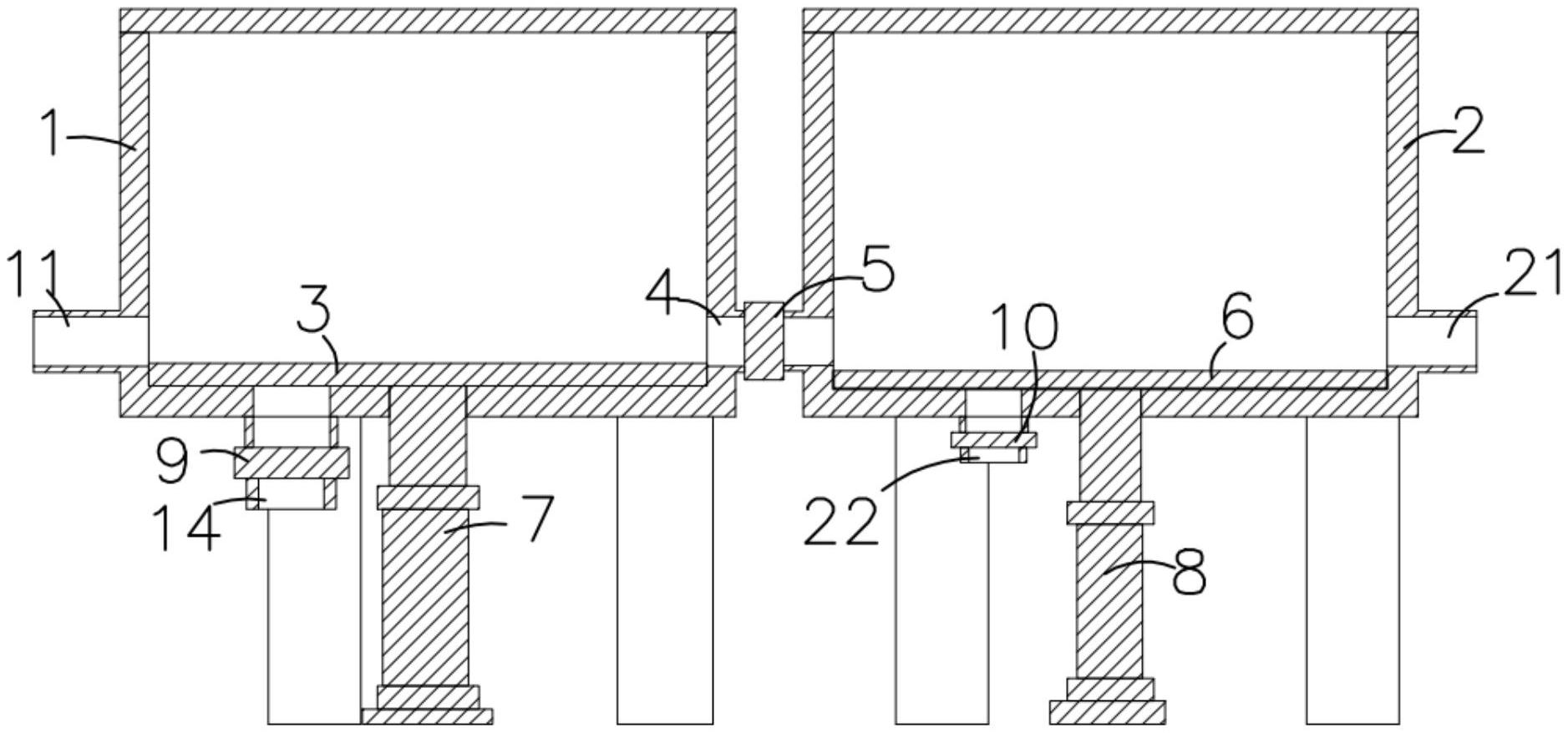
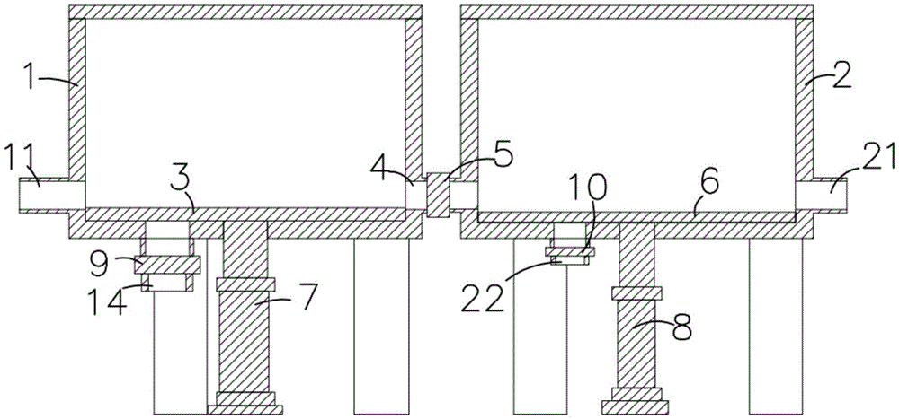
本实用新型公开了一种用于料酒加工工艺的提纯装置,包括第一罐体、第二罐体、压滤板、第一驱动装置、连接管道、第一阀门、过滤板和第二驱动装置,所述第一罐体的侧下部设有进液口,所述压滤板水平设于所述第一罐体中,所述第一驱动装置驱动所述压滤板上下运动,所述连接管道连接所述第一罐体和第二罐体,所述连接管道与所述第一罐体的连接点高于所述压滤板运行到最低位置时的高度,所述第一阀门设于所述连接管道上,所述过滤板水平设于所述第二罐体中,所述第二驱动装置驱动所述过滤板上下运动,所述第二罐体的侧部设有出液口。与现有技术相比,本实用新型在提纯的过程中,料酒经过了两个沉淀和过滤过程,能够实现良好的提纯效果。


