授权公布号:CN214830245U
一种陈醋发酵用拌料设备
有效
申请
2020-11-19
申请公布
1970-01-01
授权
2021-11-23
预估到期
2030-11-19
| 申请号 | CN202022689039.2 |
| 申请日 | 2020-11-19 |
| 授权公布号 | CN214830245U |
| 授权公告日 | 2021-11-23 |
| 分类号 | C12J1/10 |
| 分类 | 生物化学;啤酒;烈性酒;果汁酒;醋;微生物学;酶学;突变或遗传工程; |
| 申请人名称 | 湖南省长康实业有限责任公司 |
| 申请人地址 | 湖南省岳阳市湘阴县长康粮站南路1号 |
专利法律状态
2021-11-23
授权
状态信息
授权
摘要
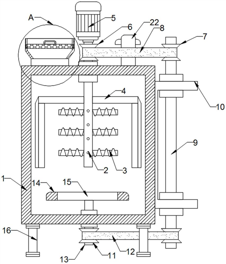
本实用新型涉及陈醋发酵技术领域,尤其涉及一种陈醋发酵用拌料设备,解决了现有技术中陈醋发酵的搅拌时通常都是通过人工的方式,由于一次搅拌的频率较高,所以耗费的人力劳动比较大,影响了陈醋的生产速率,同时传统的搅拌方式对于底层的搅拌不够充分的问题。一种陈醋发酵用拌料设备,包括罐体,罐体的顶部通过螺栓固定连接有驱动电机,罐体的内腔设有第一转动杆。本实用新型中提出的利用搅拌杆以及转盘对罐体内的陈醋进行充分的搅拌,同时利用L型刮板对罐体内壁进行剐蹭,避免了不仅避免了长时间难以进行清理的问题,同时不会造成浪费,加快了陈醋发酵的搅拌速率,相比较人工更加省时省力。


