授权公布号:CN214876066U
一种可智能收集的嫩姜芽食品包装的分割装置
有效
申请
2021-06-04
申请公布
1970-01-01
授权
2021-11-26
预估到期
2031-06-04
| 申请号 | CN202121245104.0 |
| 申请日 | 2021-06-04 |
| 授权公布号 | CN214876066U |
| 授权公告日 | 2021-11-26 |
| 分类号 | B65B51/14;B65B61/06;B65B65/08 |
| 分类 | 输送;包装;贮存;搬运薄的或细丝状材料; |
| 申请人名称 | 苏州市平望调料酱品有限公司 |
| 申请人地址 | 江苏省苏州市吴江区平望镇运河路38号 |
专利法律状态
2021-11-26
授权
状态信息
授权
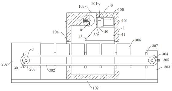
摘要
本实用新型提供了一种可智能收集的嫩姜芽食品包装的分割装置,包括主体组件、控制收集组件和输送组件,所述主体组件包括第一箱体、底座、进料口、输料口和液压缸;所述控制收集组件包括计数传感器、第二箱体、伺服电机、PLC控制器和支撑块;本实用新型通过液压缸的活塞杆推动嫩姜芽包装对刀片和电加热管进行挤压,从而对嫩姜芽包装进行封装分割工作,然后通过计数传感器检测液压缸活塞杆的工作次数,当计数传感器检测的数据达到阈值时,通过PLC控制器启动伺服电机工作,工作的伺服电机通过传输带带动储物箱运动,从而完成了对嫩姜芽食品包装的定量收集工作,进而提高了工作效率,减轻了工作人员的劳动量。


