授权公布号:CN214875758U
一种用于瓶装香辣酱智能化生产的定量注入装置
有效
申请
2021-06-07
申请公布
1970-01-01
授权
2021-11-26
预估到期
2031-06-07
| 申请号 | CN202121254293.8 |
| 申请日 | 2021-06-07 |
| 授权公布号 | CN214875758U |
| 授权公告日 | 2021-11-26 |
| 分类号 | B65B3/32;B65B43/42;B65B61/28 |
| 分类 | 输送;包装;贮存;搬运薄的或细丝状材料; |
| 申请人名称 | 苏州市平望调料酱品有限公司 |
| 申请人地址 | 江苏省苏州市吴江区平望镇运河路38号 |
专利法律状态
2021-11-26
授权
状态信息
授权
摘要
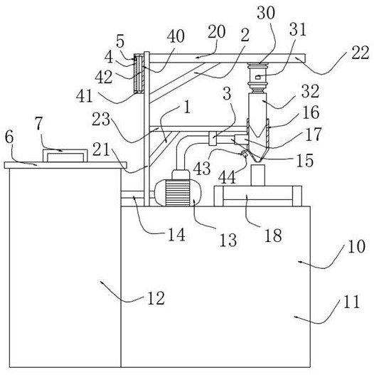
本实用新型提供了一种用于瓶装香辣酱智能化生产的定量注入装置,包括主体组件、支撑组件、挤压组件和控制组件,所述主体组件包括工作平台、第一壳体、泵体、第一管体、第二管体、第二壳体、单向阀和传送平台;所述支撑组件安装于所述主体组件的顶部,所述支撑组件包括第一板体、第二板体和第三板体;本实用新型通过红外线感应器的设置,可以感应瓶子的位置,然后使得单片机停止传送平台并启动泵体将香辣酱注入第二壳体的内部,利用液压缸推动锥体,使得香辣酱注入到瓶子的内部,然后将锥体复位,利用传送平台将填装后的瓶子输送至以下加工步骤区域,无需人工装填香辣酱,省时省力,依靠机械设备提高了填充工作的精度和工作效率。


