授权公布号:CN207120914U
一种辣酱生产用连续灌装装置
有效
申请
2017-07-19
申请公布
1970-01-01
授权
2018-03-20
预估到期
2027-07-19
| 申请号 | CN201720874850.3 |
| 申请日 | 2017-07-19 |
| 授权公布号 | CN207120914U |
| 授权公告日 | 2018-03-20 |
| 分类号 | B65B3/00;B65B3/30 |
| 分类 | 输送;包装;贮存;搬运薄的或细丝状材料; |
| 申请人名称 | 苏州市平望调料酱品有限公司 |
| 申请人地址 | 江苏省苏州市吴江区平望镇运河路38号 |
专利法律状态
2018-03-20
授权
状态信息
授权
摘要
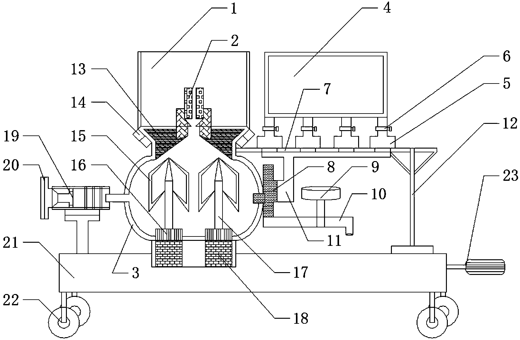
本实用新型公开了一种辣酱生产用连续灌装装置,包括定量杯、搅拌箱和配料箱,所述定量杯内部底面中心位置处安装有定量调节管,所述定量调节管中间位置切割与搅拌箱连通,所述搅拌箱内部底侧两边缘处焊接固定有转动装置,所述转动装置上表面中心位置安装有转轴,所述转轴上顶部焊接固定有螺旋叶,所述转动装置正下方安装有转动电机,所述搅拌箱下底面焊接固定有底座,所述配料箱下底面等距离安装有四个出料管道,所述出料管道中心位置安装有调节阀,所述出料管道下底面横向焊接固定有固定支架,所述固定支架一端与搅拌箱外壁焊接固定。该辣酱生产用连续灌装装置,灌装过程处于真空,防止细菌滋生,且操作简单,经济实用。


