授权公布号:CN211532740U
一种宠物食品膨化机进料口防堵装置
有效
申请
2019-12-25
申请公布
1970-01-01
授权
2020-09-22
预估到期
2029-12-25
| 申请号 | CN201922414003.0 |
| 申请日 | 2019-12-25 |
| 授权公布号 | CN211532740U |
| 授权公告日 | 2020-09-22 |
| 分类号 | A23N17/00 |
| 分类 | 其他类不包含的食品或食料;及其处理; |
| 申请人名称 | 上海耐威克宠物用品有限公司 |
| 申请人地址 | 上海市奉贤区海湾镇灵山路98号4幢 |
专利法律状态
2020-09-22
授权
状态信息
授权
摘要
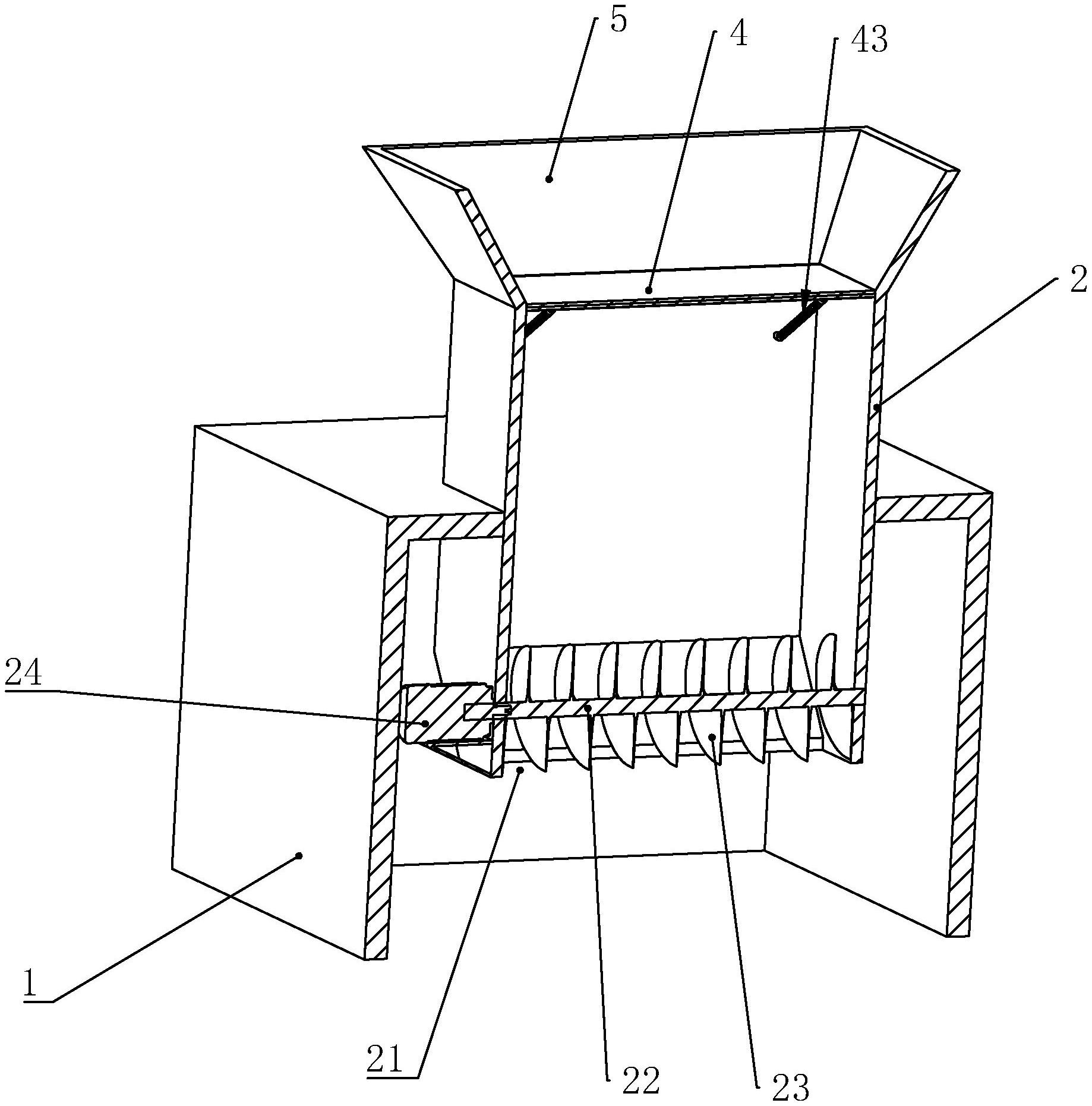
本实用新型涉及一种宠物食品膨化机进料口防堵装置,其包括设置于膨化机顶部的进料斗,所述进料斗底部设有长条形下料口,所述长条形下料口处转动连接有转轴,所述转轴侧壁设置有螺旋刮料片,所述长条形下料口一端设置有第一电机,所述第一电机的输出轴与转轴同轴连接,所述膨化机顶部位于所述进料斗一侧设置有敲击防堵装置。本实用新型的宠物食品膨化机进料口防堵装置可以有效的解决膨化机的进料口堵塞的问题,保证膨化机始终保持正常工作,提高物料颗粒的生产效率,方便用户使用。


