授权公布号:CN214015250U
一种用于蔬菜种植棚的风机
有效
申请
2020-06-19
申请公布
1970-01-01
授权
2021-08-24
预估到期
2030-06-19
| 申请号 | CN202021151010.2 |
| 申请日 | 2020-06-19 |
| 授权公布号 | CN214015250U |
| 授权公告日 | 2021-08-24 |
| 分类号 | A01G9/24 |
| 分类 | 农业;林业;畜牧业;狩猎;诱捕;捕鱼; |
| 申请人名称 | 江苏一号农场科技股份有限公司 |
| 申请人地址 | 江苏省常州市金坛区薛埠镇仙姑村委庙西村58号 |
专利法律状态
2021-08-24
授权
状态信息
授权
摘要
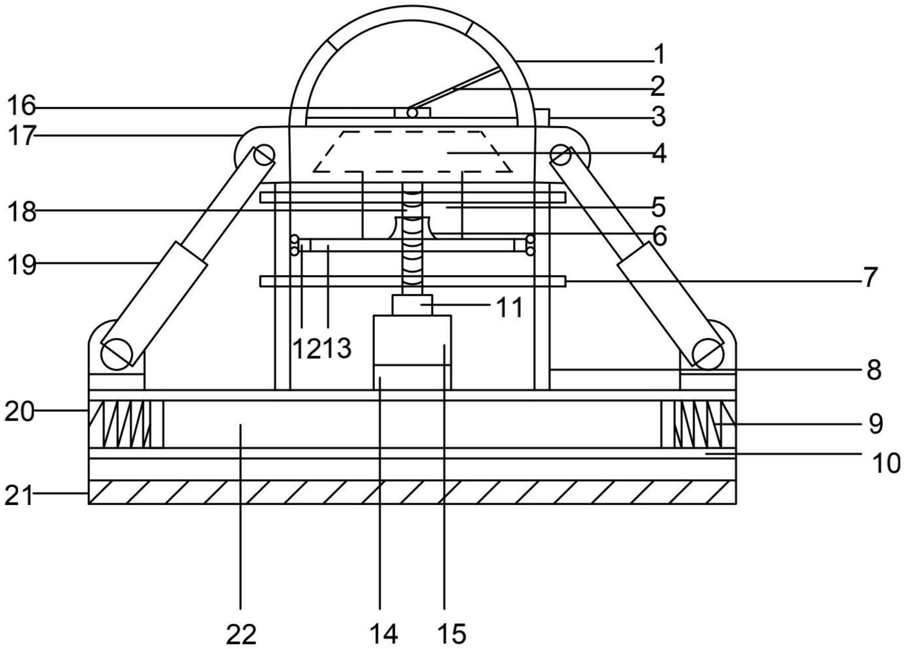
本实用新型提供一种用于蔬菜种植棚的风机,涉及种植棚技术领域,包括框体与风机体,所述框体两侧壁设有夹板,所述夹板两侧之间设有弹簧,所述弹簧间设有风机体,所述框体顶部两侧设有旋转轴,所述旋转轴上设有伸缩杆,所述伸缩杆一端设有所述旋转轴,所述伸缩杆之间设有顶板;所述夹板顶部设有垫块,所述垫块两侧设有侧板,所述侧板两端套设有卡板,所述垫块顶部设有电机,所述电机顶部设有电机轴,所述电机轴顶部设有螺旋杆,所述侧板两侧壁设有滚轮,所述滚轮之间设有升降板,所述升降板顶部设有套圈,所述升降板一侧设有升降块,所述升降块顶部设有移动块,所述顶板两侧设有开口,所述移动块设在所述开口处。本实用新型结构稳定,调节效果好。


