授权公布号:CN216133338U
一种快速多维多尺度的果园环境实时监控设备
有效
申请
2021-12-01
申请公布
1970-01-01
授权
2022-03-25
预估到期
2031-12-01
| 申请号 | CN202122988820.4 |
| 申请日 | 2021-12-01 |
| 授权公布号 | CN216133338U |
| 授权公告日 | 2022-03-25 |
| 分类号 | G05B19/05 |
| 分类 | 控制;调节; |
| 申请人名称 | 齐鲁泉源供应链有限公司 |
| 申请人地址 | 山东省烟台市栖霞经济开发区 |
专利法律状态
2022-03-25
授权
状态信息
授权
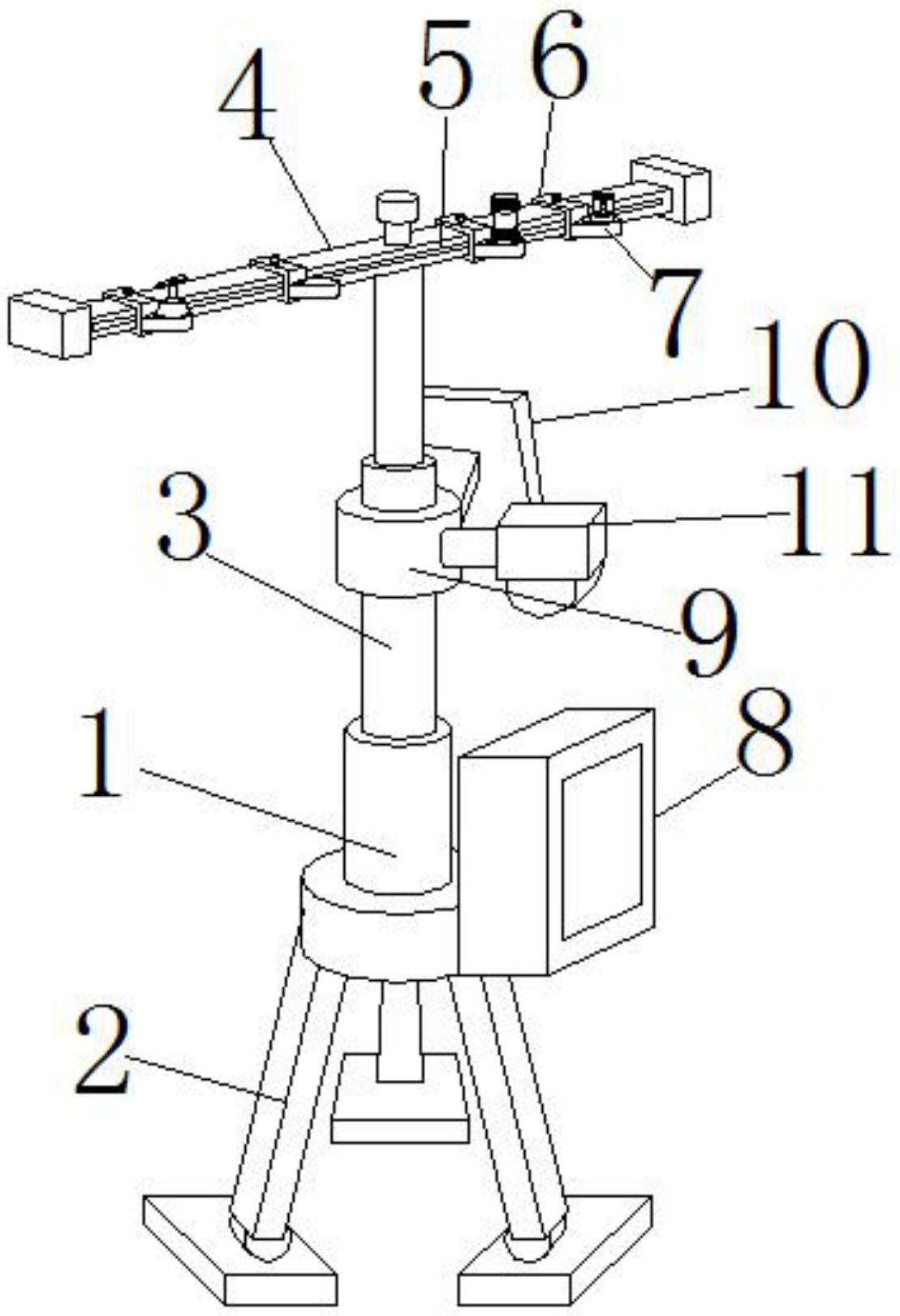
摘要
本实用新型公开一种快速多维多尺度的果园环境实时监控设备,包括固定杆、固定架、升降杆、旋转轴、旋转杆、横向轨道、滑动安装块、传感器安装座、PLC控制箱、中轴安装座、太阳能板和监控设备,所述固定杆的底部设置有固定架,所述固定杆的顶部安装有升降杆,所述升降杆的顶部设置有旋转轴,所述旋转轴上安装有旋转杆,所述旋转杆上设置有横向轨道,所述滑动安装块通过横向轨道安装在旋转杆上,与现有技术相比,本实用新型的有益效果是:本实用新型可实时监控果园内部环境,将果园内的温度湿度通过PLC控制箱反馈给远程设备,监控设备可直观的看见果园内环境情况,升降杆可调节其高度,可根据果园的生长周期,调节装置的高度。


