授权公布号:CN210541149U
一种新型奶油打发机
有效
申请
2019-07-25
申请公布
1970-01-01
授权
2020-05-19
预估到期
2029-07-25
| 申请号 | CN201921181424.7 |
| 申请日 | 2019-07-25 |
| 授权公布号 | CN210541149U |
| 授权公告日 | 2020-05-19 |
| 分类号 | A47J43/10 |
| 分类 | 家具;家庭用的物品或设备;咖啡磨;香料磨;一般吸尘器; |
| 申请人名称 | 河南豪峰食品有限公司 |
| 申请人地址 | 河南省漯河市临颍县产业集聚区经三路北段西侧 |
专利法律状态
2023-10-17
专利权质押合同登记的生效、变更及注销
状态信息
专利权质押合同登记的生效;IPC(主分类):A47J 43/10;专利号:ZL2019211814247;登记号:Y2023980059302;登记生效日:20230926;出质人:河南豪峰食品有限公司;质权人:中国银行股份有限公司漯河分行;实用新型名称:一种新型奶油打发机;申请日:20190725;授权公告日:20200519
2023-10-13
专利权质押合同登记的生效、变更及注销
状态信息
专利权质押合同登记的注销;IPC(主分类):A47J 43/10;授权公告日:20200519;申请日:20190725;专利号:ZL2019211814247;登记号:Y2022980015978;出质人:河南豪峰食品有限公司;质权人:中国银行股份有限公司漯河分行;解除日:20230920
2022-10-11
专利权质押合同登记的生效、变更及注销
状态信息
专利权质押合同登记的生效;IPC(主分类):A47J43/10;登记号:Y2022980015978;登记生效日:20220922;出质人:河南豪峰食品有限公司;质权人:中国银行股份有限公司漯河分行;实用新型名称:一种新型奶油打发机;申请日:20190725;授权公告日:20200519
2022-10-04
专利权质押合同登记的生效、变更及注销
状态信息
专利权质押合同登记的注销;IPC(主分类):A47J43/10;授权公告日:20200519;申请日:20190725;登记号:Y2021980009403;出质人:河南豪峰食品有限公司;质权人:中国银行股份有限公司漯河分行;解除日:20220916
2021-10-08
专利权质押合同登记的生效、变更及注销
状态信息
专利权质押合同登记的生效;IPC(主分类):A47J43/10;登记号:Y2021980009403;登记生效日:20210916;出质人:河南豪峰食品有限公司;质权人:中国银行股份有限公司漯河分行;实用新型名称:一种新型奶油打发机;申请日:20190725;授权公告日:20200519
2020-05-19
授权
状态信息
授权
摘要
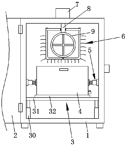
本实用新型公开了一种新型奶油打发机,包括柜体、支撑装置、桶体、旋转电机和搅拌轴,所述柜体的一侧通过合页连接有柜门,所述柜体的内部设置有支撑装置,所述支撑装置的顶端设置有顶部开口的桶体,所述桶体的外壁一体成型有两组把手,所述桶体的侧壁固定有排水阀和两组卡件,所述柜体的顶壁的中央固定有旋转电机,所述旋转电机的顶壁钻设有与旋转电机的输出轴适配的通孔,所述旋转电机的输出轴通过联轴器与柜体内的搅拌轴连接,所述搅拌轴的底端固定有搅拌杆,所述搅拌杆为环形管结构,所述搅拌轴的侧壁固定有两组清理件。该新型奶油打发机,不仅便于对奶油进行打发,而且能够对桶体进行固定和清理。


