授权公布号:CN210538727U
一种新型连续式自动敲蛋机
有效
申请
2019-07-25
申请公布
1970-01-01
授权
2020-05-19
预估到期
2029-07-25
| 申请号 | CN201921181448.2 |
| 申请日 | 2019-07-25 |
| 授权公布号 | CN210538727U |
| 授权公告日 | 2020-05-19 |
| 分类号 | A23L15/10 |
| 分类 | 其他类不包含的食品或食料;及其处理; |
| 申请人名称 | 河南豪峰食品有限公司 |
| 申请人地址 | 河南省漯河市临颍县产业集聚区经三路北段西侧 |
专利法律状态
2023-10-17
专利权质押合同登记的生效、变更及注销
状态信息
专利权质押合同登记的生效;IPC(主分类):A23L 15/10;专利号:ZL2019211814482;登记号:Y2023980059302;登记生效日:20230926;出质人:河南豪峰食品有限公司;质权人:中国银行股份有限公司漯河分行;实用新型名称:一种新型连续式自动敲蛋机;申请日:20190725;授权公告日:20200519
2023-10-13
专利权质押合同登记的生效、变更及注销
状态信息
专利权质押合同登记的注销;IPC(主分类):A23L 15/10;授权公告日:20200519;申请日:20190725;专利号:ZL2019211814482;登记号:Y2022980015978;出质人:河南豪峰食品有限公司;质权人:中国银行股份有限公司漯河分行;解除日:20230920
2022-10-11
专利权质押合同登记的生效、变更及注销
状态信息
专利权质押合同登记的生效;IPC(主分类):A23L15/10;登记号:Y2022980015978;登记生效日:20220922;出质人:河南豪峰食品有限公司;质权人:中国银行股份有限公司漯河分行;实用新型名称:一种新型连续式自动敲蛋机;申请日:20190725;授权公告日:20200519
2022-10-04
专利权质押合同登记的生效、变更及注销
状态信息
专利权质押合同登记的注销;IPC(主分类):A23L15/10;授权公告日:20200519;申请日:20190725;登记号:Y2021980009403;出质人:河南豪峰食品有限公司;质权人:中国银行股份有限公司漯河分行;解除日:20220916
2021-10-08
专利权质押合同登记的生效、变更及注销
状态信息
专利权质押合同登记的生效;IPC(主分类):A23L15/10;登记号:Y2021980009403;登记生效日:20210916;出质人:河南豪峰食品有限公司;质权人:中国银行股份有限公司漯河分行;实用新型名称:一种新型连续式自动敲蛋机;申请日:20190725;授权公告日:20200519
2020-05-19
授权
状态信息
授权
摘要
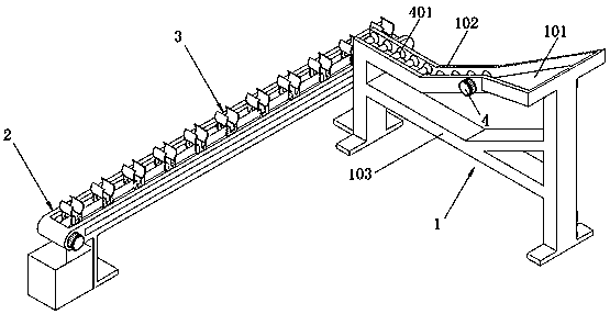
本实用新型公开了一种新型连续式自动敲蛋机,包括送蛋装置、工作平台、敲蛋架、蛋液槽和蛋壳槽,所述送蛋装置包括开放式进料口、连接开放式进料口的送蛋轨以及支持开放式进料口和送蛋轨的支撑架,所述送蛋装置的送蛋轨远离开放式进料口的一侧设置有一组工作平台,所述工作平台包括平台主体以及平台主体底端两侧支撑的L型撑架,所述平台主体的中心开设有供两组传动链安装的槽,传动链上等距设置有多组敲蛋架,且传动链与安装于工作平台一侧的步进电机配合传动,送蛋轨构造为两段式结构,其中一段构造为斜面,其斜面段与开放式进料口连接。该新型连续式自动敲蛋机,结构合理,有效实现连续的敲蛋工作且适用性强,具有较高的实用价值。


