授权公布号:CN209768795U
一种鸭蛋快速腌制装置
有效
申请
2019-02-27
申请公布
1970-01-01
授权
2019-12-13
预估到期
2029-02-27
| 申请号 | CN201920248633.2 |
| 申请日 | 2019-02-27 |
| 授权公布号 | CN209768795U |
| 授权公告日 | 2019-12-13 |
| 分类号 | A23B5/20;A23L15/00 |
| 分类 | 其他类不包含的食品或食料;及其处理; |
| 申请人名称 | 高邮市秦邮蛋品有限公司 |
| 申请人地址 | 江苏省扬州市高邮城南经济新区兴区路 |
专利法律状态
2019-12-13
授权
状态信息
授权
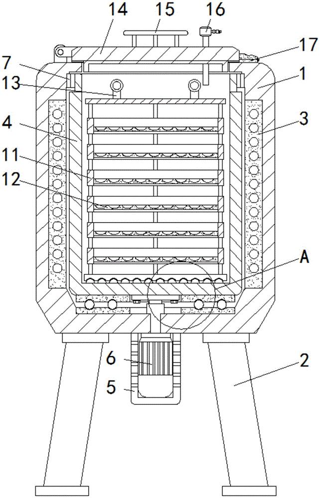
摘要
本实用新型涉及食品生产技术领域,且公开了一种鸭蛋快速腌制装置,包括腌制仓,所述腌制仓的底部固定安装有数量为四个的支撑腿,所述腌制仓的内部固定安装有加热装置,所述腌制仓的内部活动安装有位于加热装置内部的转动仓,所述腌制仓的底部固定安装有机箱,所述机箱的内部固定安装有输出轴贯穿腌制仓并与转动仓底部固定连接的电机,所述转动仓的顶部外侧与腌制仓的内壁通过密封轴承活动连接,所述转动仓的底部与腌制仓的内壁底部均固定安装有固定板。该鸭蛋快速腌制装置,可提高腌制速率,减少操作人员的等待时间,使得鸭蛋腌制更为快速,提高鸭蛋腌制速度,同时空间利用合理,可一次性腌制较多的鸭蛋,提高鸭蛋腌制的产出效率。


