授权公布号:CN210149637U
一种包装袋接放装置
有效
申请
2019-05-15
申请公布
1970-01-01
授权
2020-03-17
预估到期
2029-05-15
| 申请号 | CN201920697239.7 |
| 申请日 | 2019-05-15 |
| 授权公布号 | CN210149637U |
| 授权公告日 | 2020-03-17 |
| 分类号 | B65B25/00;B65B43/14;B65B43/18 |
| 分类 | 输送;包装;贮存;搬运薄的或细丝状材料; |
| 申请人名称 | 南京桂花鸭(集团)有限公司 |
| 申请人地址 | 江苏省南京市江宁滨江经济技术开发区盛安大道718号 |
专利法律状态
2020-03-17
授权
状态信息
授权
摘要
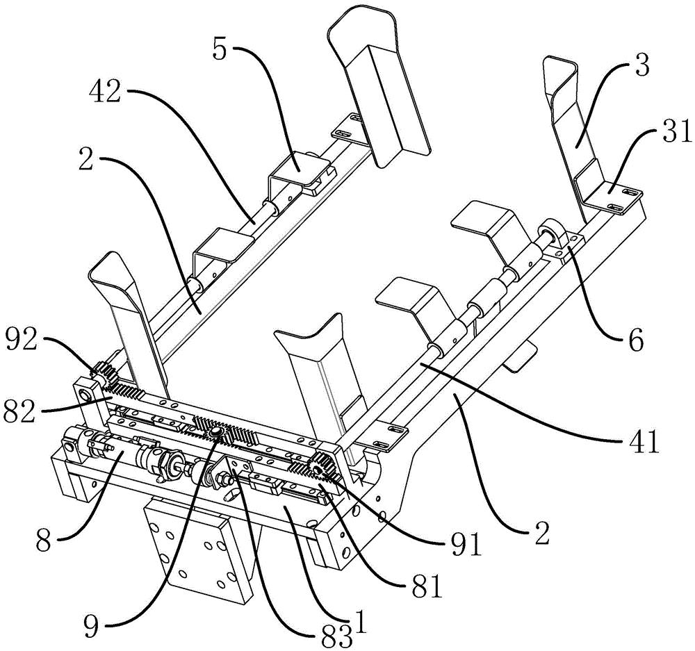
本实用新型提供了一种包装袋接放装置,包括:基座,一端设置有固定板,固定板的两端连接有平行设置的托板安装板,固定板的背面设置有驱动机构,所述托板安装板的四周设置有互相垂直设置的包装袋定位脚,所述包装袋定位脚通过定位脚连接板与托板安装板固定;转动机构,包括托板短转轴和包装袋托板,所述包装袋托板与所述托板短转轴固定,所述托板短转轴平行设置于托板安装板的下方且一端通过托盘短轴轴承座与固定板相连,所述托板短转轴的另一端通过托盘短轴轴承座与托板安装板相连,在驱动机构的驱动下,托板短转轴进行旋转带动包装袋托板的打开或闭合。本实用新型具有放置平稳、实用性好的特点。


