授权公布号:CN205280431U
一种粮食取样装置
有效
申请
2015-12-31
申请公布
1970-01-01
授权
2016-06-01
预估到期
2025-12-31
| 申请号 | CN201521135677.2 |
| 申请日 | 2015-12-31 |
| 授权公布号 | CN205280431U |
| 授权公告日 | 2016-06-01 |
| 分类号 | G01N1/16 |
| 分类 | 测量;测试; |
| 申请人名称 | 福建圣农发展股份有限公司 |
| 申请人地址 | 福建省南平市光泽县十里铺圣农总部办公大楼 |
专利法律状态
2016-06-01
授权
状态信息
授权
摘要
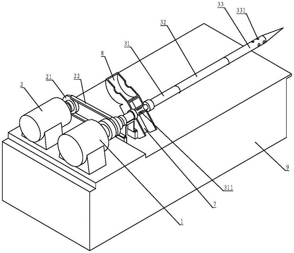
本实用新型提供一种可等距离取不同深度的样品的粮食取样装置,包括驱动机构和取样机构,取样机构包括第一取样装置、第二取样装置和第三取样装置,第一取样装置的两端分别与驱动机构和第二取样装置连接,第一取样装置包括第一取样管和第一螺旋叶片,第一取样管上设置有第一通孔,第一通孔用于出料;第二取样装置包括第二取样管和第二螺旋叶片,第三取样装置包括第三取样管和第三螺旋叶片,第三取样管的一端与第二取样管连接,第三取样管另一端为圆锥形,第三取样管上设有第二通孔,第二通孔为圆孔。本实用新型的有益效果在于:通过在第一取样装置和第三取样装置之间设置多个第二取样装置,来实现等距离取不同深度的粮食样品。


