授权公布号:CN210784192U
车间顶棚冷凝水刮板
有效
申请
2019-09-23
申请公布
1970-01-01
授权
2020-06-19
预估到期
2029-09-23
| 申请号 | CN201921585764.6 |
| 申请日 | 2019-09-23 |
| 授权公布号 | CN210784192U |
| 授权公告日 | 2020-06-19 |
| 分类号 | A47L11/38;A47L11/40 |
| 分类 | 家具;家庭用的物品或设备;咖啡磨;香料磨;一般吸尘器; |
| 申请人名称 | 蓬莱京鲁渔业有限公司 |
| 申请人地址 | 山东省烟台市蓬莱市刘家沟镇北大街16号 |
专利法律状态
2020-06-19
授权
状态信息
授权
摘要
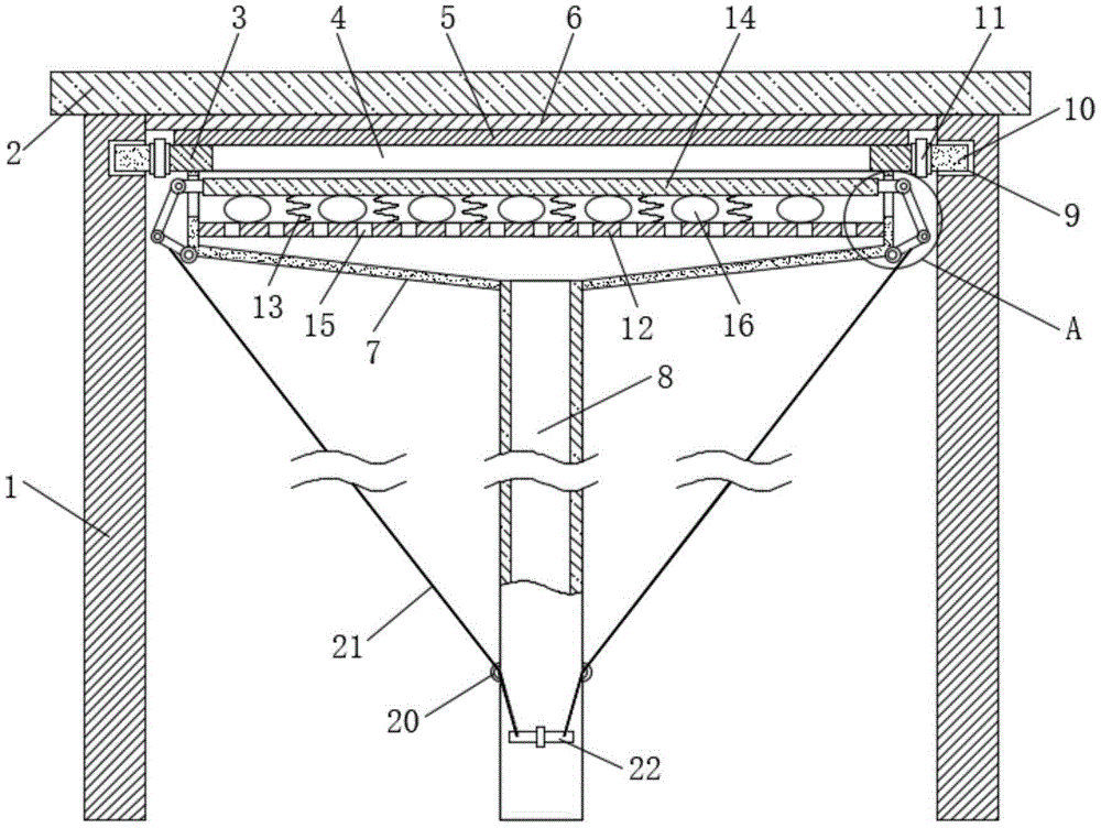
本实用新型公开了车间顶棚冷凝水刮板,包括车间本体,所述车间本体的上端固定连接有顶棚,所述顶棚的下方设有横板,所述横板通过设置在车间本体上的滑动机构实现位移动作,所述横板内设有引流槽,所述横板的上端固定连接有与引流槽位置对应的引流板,所述引流板远离横板的一端固定连接有刮板,所述横板的下端固定连接有蓄水池,所述蓄水池的下端固定连接有与其内部连通的导流管,所述导流管远离蓄水池的一端与地面相抵,所述蓄水池内水平设有隔板。本实用新型可以对水产加工车间的顶棚冷凝水进行吸收排除作业,操作简便,无须在潮湿环境下使用电力即可进行清除作业,有效避免冷凝水随意低落的现象。


