授权公布号:CN216931499U
一种用于金枪鱼船的捞鱼圈
有效
申请
2022-02-17
申请公布
1970-01-01
授权
2022-07-12
预估到期
2032-02-17
| 申请号 | CN202220318320.1 |
| 申请日 | 2022-02-17 |
| 授权公布号 | CN216931499U |
| 授权公告日 | 2022-07-12 |
| 分类号 | A01K73/12 |
| 分类 | 农业;林业;畜牧业;狩猎;诱捕;捕鱼; |
| 申请人名称 | 大洋世家(浙江)股份公司 |
| 申请人地址 | 浙江省舟山市定海区临城街道长峙岛香樟园写字楼A座16/17楼 |
专利法律状态
2022-07-12
授权
状态信息
授权
摘要
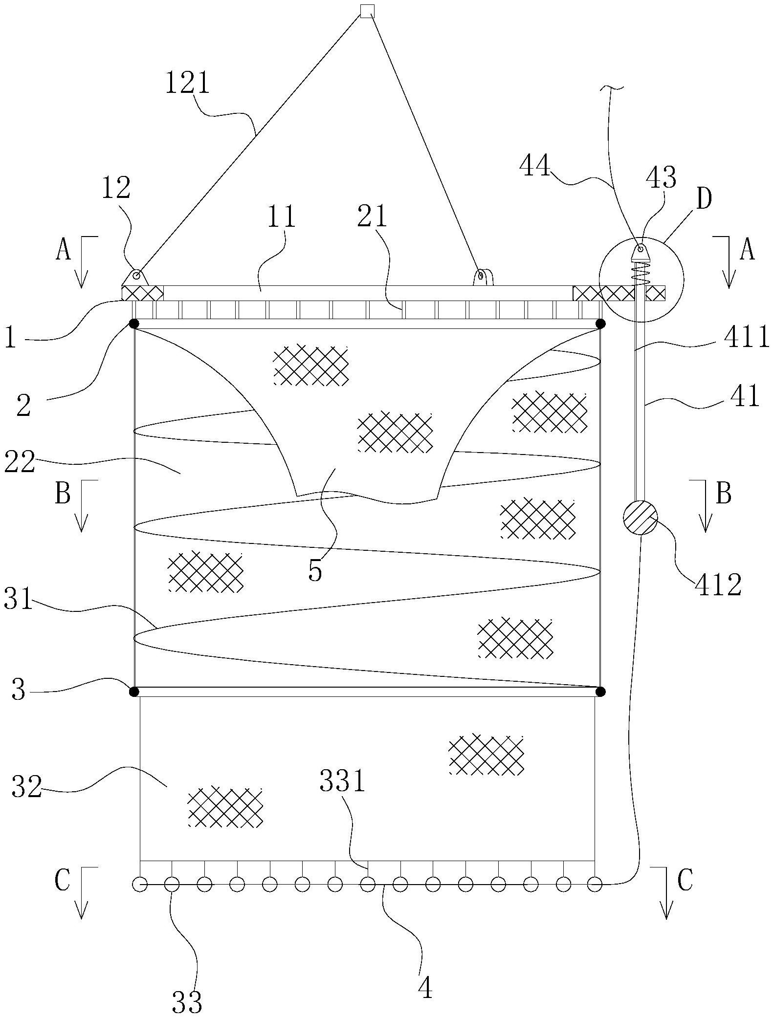
本实用新型提供了一种用于金枪鱼船的捞鱼圈,属于金枪鱼捕捞技术领域。本实用新型包括面板圈、上固定环、下固定环、螺旋弹簧和收紧机构,所述面板圈内开设有开孔,所述面板圈的上侧面沿开孔的周向设有三个第一眼板,所述第一眼板上连接有第一拉绳,所述上固定环通过若干个连接杆同轴固设在面板圈的下方,所述上固定环与开孔上下同轴,所述下固定环通过第一网筒同轴设置在上固定环的下方,所述螺旋弹簧的两端分别固设在上固定环和下固定环上,所述第二网筒的上侧边固设在下固定环上,所述收紧机构能够收紧和打开第二网筒的下侧边。本实用新型能够通过第二吊钩的升降打开和收紧捞鱼圈的底部,实现快速捞鱼和卸鱼,免去人工操作的麻烦,省时省力。


