授权公布号:CN217456275U
一种用于金枪鱼船的鱼货输送通道
有效
申请
2022-02-17
申请公布
1970-01-01
授权
2022-09-20
预估到期
2032-02-17
| 申请号 | CN202220327644.1 |
| 申请日 | 2022-02-17 |
| 授权公布号 | CN217456275U |
| 授权公告日 | 2022-09-20 |
| 分类号 | B63B27/24;B63B27/22;B63B35/24 |
| 分类 | 船舶或其他水上船只;与船有关的设备; |
| 申请人名称 | 大洋世家(浙江)股份公司 |
| 申请人地址 | 浙江省舟山市定海区临城街道长峙岛香樟园写字楼A座16/17楼 |
专利法律状态
2022-09-20
授权
状态信息
授权
摘要
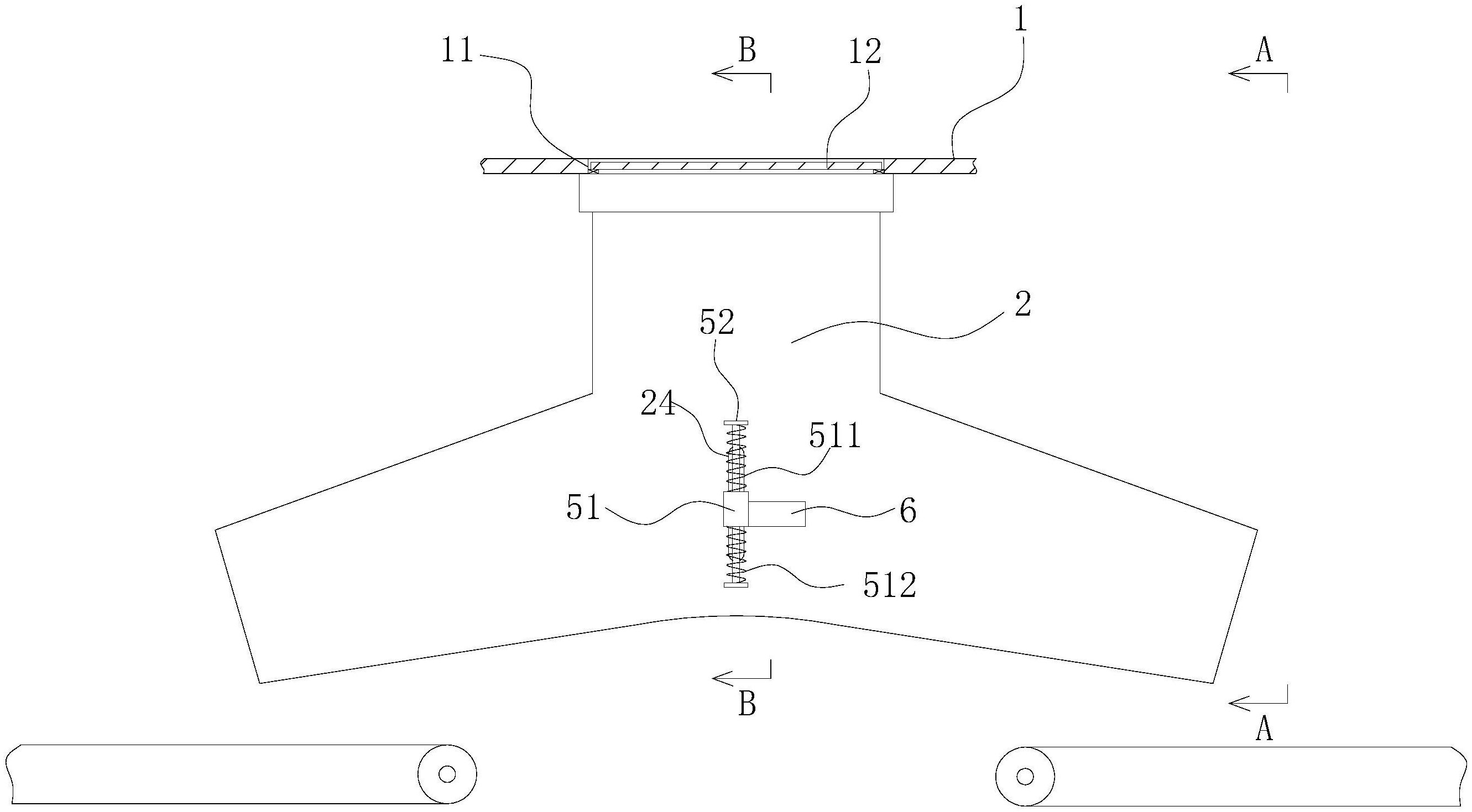
本实用新型提供了一种用于金枪鱼船的鱼货输送通道,属于金枪鱼捕捞输送技术领域。本实用新型包括进鱼管、两个滑槽孔、第一转轴、驱动机构和导向板,进鱼管的上端固设在开口的下侧面上,进鱼管的下端水平分叉,进鱼管内包括主通道和第一通道、第二通道,两个滑槽孔竖直对称开设在主通道的前后侧壁上,第一转轴插设在两个滑槽孔内,第一转轴的两端均伸出进鱼管且端部转动设置有滑块,滑块通过第一导向结构竖直滑动设置在进鱼管的外侧壁上,驱动机构能够带动第一转轴往复转动,导向板固设在第一转轴上,转动导向板能够将第一通道或者第二通道封堵住。本实用新型能够根据需要快速切换金枪鱼的输送通道,满足不同方向的输送要求,操作简单。


