授权公布号:CN217715488U
一种阳台壁挂式太阳能热水器
有效
申请
2022-02-28
申请公布
1970-01-01
授权
2022-11-01
预估到期
2032-02-28
| 申请号 | CN202220425318.4 |
| 申请日 | 2022-02-28 |
| 授权公布号 | CN217715488U |
| 授权公告日 | 2022-11-01 |
| 分类号 | F24S10/50;F24S50/00;F24S50/40;F24S40/00;F24S25/61;F24S80/00;H04M1/72415;H04W84/12;G08B7/06;G08C17/02;H05B47/165 |
| 分类 | 供热;炉灶;通风; |
| 申请人名称 | 日出东方控股股份有限公司 |
| 申请人地址 | 江苏省连云港市海宁工贸园 |
专利法律状态
2022-11-01
授权
状态信息
授权
摘要
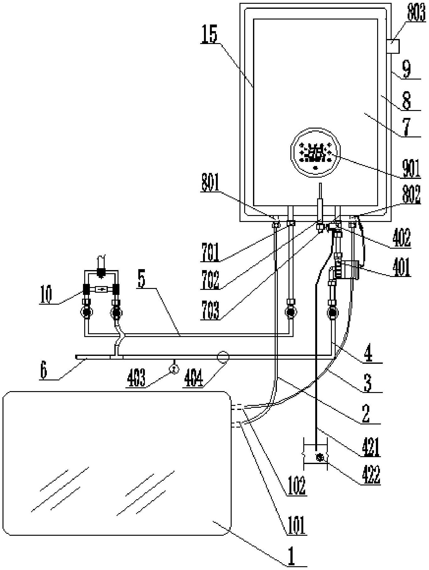
本实用新型是一种阳台壁挂式太阳能热水器,包括平板集热器和水箱,水箱上设有循环进口、循环出口、热水出口和冷水进口,循环进口和循环出口通过循环管路和平板集热器连通,热水出口连接有热水出水管路,冷水进口连接有回水管路,冷水进口和回水管路之间沿回水方向依次设有循环泵和单向安全阀,热水出水管路末端和回水管路末端通过H阀连通。控制器控制循环泵开启与H阀配合,将回水管路和热水出水管路中被冷却的均水吸入夹套式内胆的内胆内再次加热,水箱内的热水流至热水出水管路,减少管道内冷水的浪费,有效控制水温,节约资源,实现开即热的用水需求。满足不同年龄不同身高条件的限制,人工智能,便民普及,使用安全,灯环提升产品感官体验。


