授权公布号:CN113266864B
一种太阳能分层蓄热水箱及其系统
有效
申请
2021-04-21
申请公布
2021-08-17
授权
2022-03-18
预估到期
2041-04-21
| 申请号 | CN202110431393.1 |
| 申请日 | 2021-04-21 |
| 申请公布号 | CN113266864A |
| 申请公布日 | 2021-08-17 |
| 授权公布号 | CN113266864B |
| 授权公告日 | 2022-03-18 |
| 分类号 | F24D11/00;F24S10/40;F24S40/70;F24S80/30;F24S80/60 |
| 分类 | 供热;炉灶;通风; |
| 申请人名称 | 日出东方控股股份有限公司 |
| 申请人地址 | 江苏省连云港市海宁工贸园 |
专利法律状态
2022-03-18
授权
状态信息
授权
2021-08-17
公布
状态信息
公布
摘要
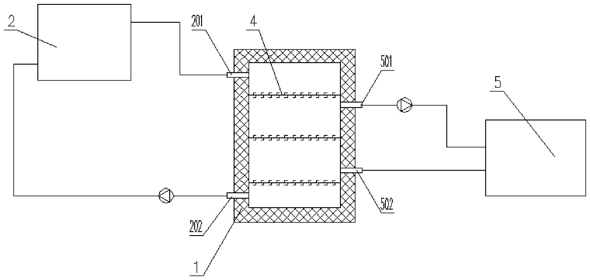
本发明涉及一种太阳能分层蓄热水箱及其系统,包括太阳能系统、分层蓄热水箱、采暖系统;蓄热水箱利用换热原理,集热部和换热用水部中介质相互独立,换热效率高,集热部中介质为防冻液,有效防止昼夜温差造成太阳能集热器及集热循环管道冻结,实用性强,防冻效果好。集热循环停止时,蓄热水箱还可作为回流水箱使用,太阳能集热器及管路内部分或全部介质回流至蓄热水箱,有效防冻,且可有效避免太阳能集热器过热。使用蓄热水箱的太阳能系统,热量通过循环进入蓄热水箱,再循环或传递给采暖系统供热,循环加热供热。蓄热水箱良好的分层降低集热循环的进口温度,提高供暖温度,不仅能有效提高集热器的效率,还能够充分利用热量。


