授权公布号:CN210145141U
一种食品检测用消毒装置
有效
申请
2019-04-17
申请公布
1970-01-01
授权
2020-03-17
预估到期
2029-04-17
| 申请号 | CN201920517378.7 |
| 申请日 | 2019-04-17 |
| 授权公布号 | CN210145141U |
| 授权公告日 | 2020-03-17 |
| 分类号 | A61L2/18;A61L2/04;A61L2/20;A61L2/26;A61L101/10 |
| 分类 | 医学或兽医学;卫生学; |
| 申请人名称 | 大连八鲜岛海洋生物食品有限公司 |
| 申请人地址 | 辽宁省大连市经济技术开发区东北七街7号-2 |
专利法律状态
2020-03-17
授权
状态信息
授权
摘要
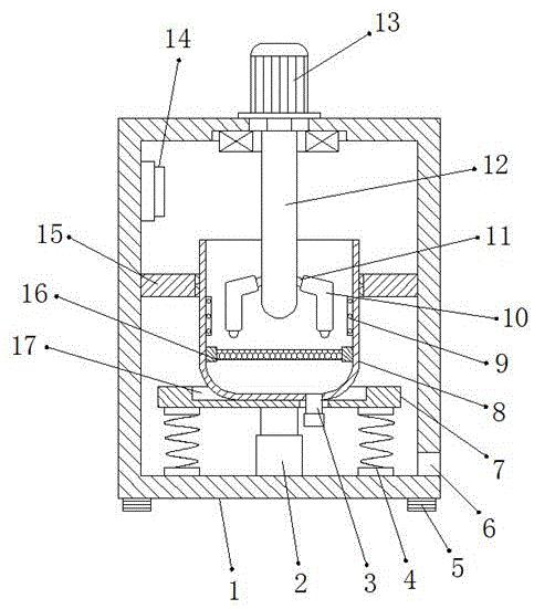
本实用新型公开了一种食品检测用消毒装置,包括消毒箱,所述消毒箱的底部内壁位于中间的位置固定有电动伸缩杆,且电动伸缩杆的顶部外壁固定有支撑板,所述支撑板的顶部外壁开有固定槽,且固定槽底部内壁的一侧开有通口,所述固定槽的底部内壁放置有消毒罐,且消毒罐底部外壁的一侧设置有排水管,所述消毒箱的顶部内壁通过轴承连接有转动杆,且转动杆的外壁靠近底部的位置固定有搅拌轴,所述搅拌轴的外壁套接有防护套。本实用新型能够防止搅拌轴与食品检测工具之间发生碰撞对检测工具造成损坏,防止搅拌时产生的晃动导致消毒罐与固定口之间发生碰撞对消毒罐的外壁造成损坏,能够防止消毒罐的内壁粘附有杂质对工具的消毒造成影响。


