授权公布号:CN213848596U
一种食品生产加工冷却装置
有效
申请
2020-09-28
申请公布
1970-01-01
授权
2021-08-03
预估到期
2030-09-28
| 申请号 | CN202022167606.8 |
| 申请日 | 2020-09-28 |
| 授权公布号 | CN213848596U |
| 授权公告日 | 2021-08-03 |
| 分类号 | A23L5/10 |
| 分类 | 其他类不包含的食品或食料;及其处理; |
| 申请人名称 | 淮南市焦岗湖忠辉食品有限公司 |
| 申请人地址 | 安徽省淮南市毛集经济开发区文成大道西路 |
专利法律状态
2021-08-03
授权
状态信息
授权
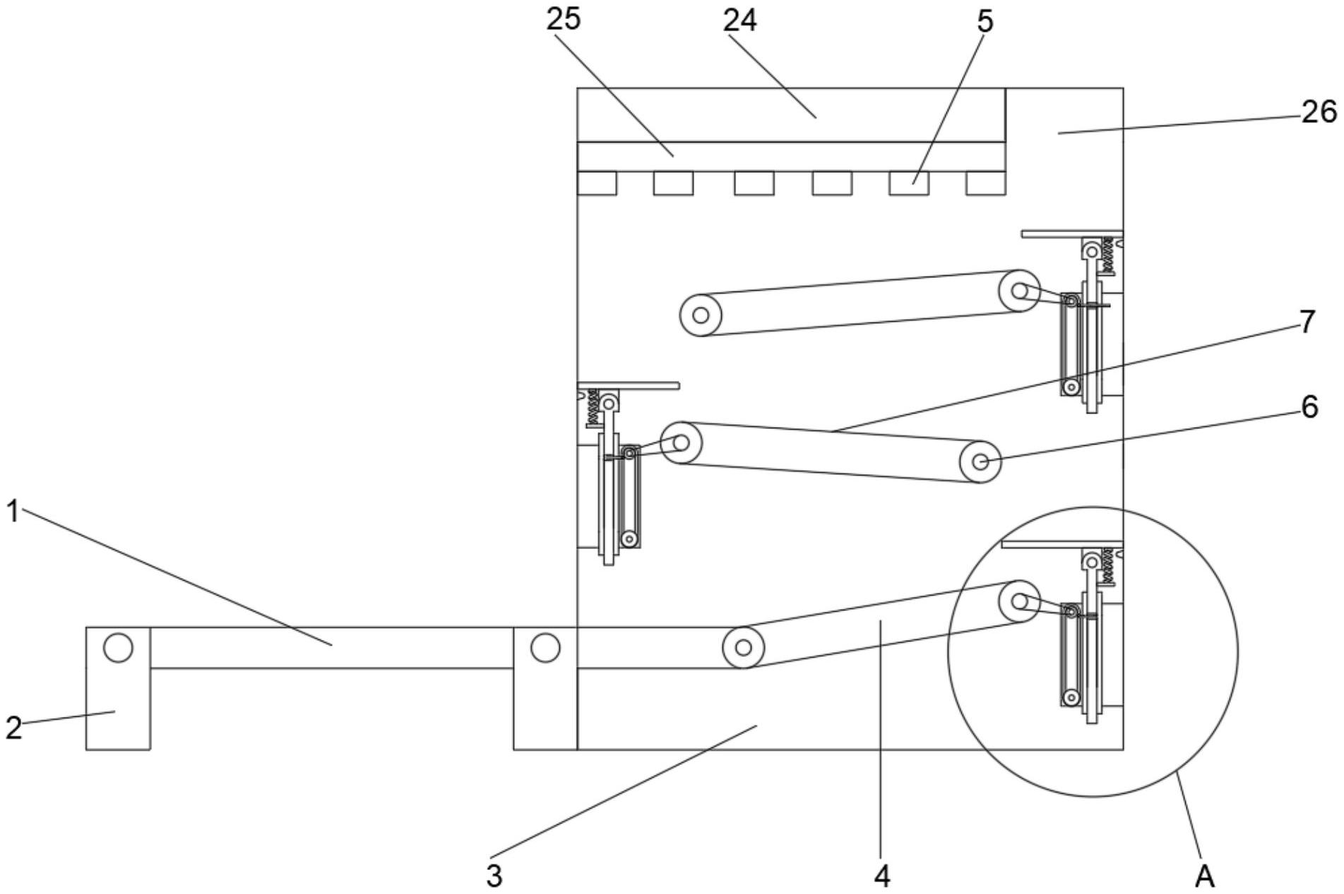
摘要
本实用新型公开了一种食品生产加工冷却装置,包括外传送带、内传送带、稳固箱、风机,所述稳固箱内上下贯穿有滑动支撑柱,滑动支撑柱内贯穿有内滑动柱,内滑动柱内横向贯穿有滑动限位圈,滑动支撑柱的侧表面贯穿有滑动槽,滑动限位圈内插有支撑杆,支撑杆的左端固定安装有链带,链带内上下对称安装有转动轴,上部的转动轴套有传动带,传动带的另一端套于转动辊上,内滑动柱的上端设有下转动角码,下转动角码上安装有上转动角码,上转动角码的上表面安装有托板,托板的下表面安装有弹簧的一端,弹簧的下端安装有支撑板。本实用新型减少食品在两个传送带之间输送自由落体距离,有效降低食品因冷却传送发生的损伤现象。


