授权公布号:CN211914008U
一种食品生产用原料切碎装置
有效
申请
2020-01-08
申请公布
1970-01-01
授权
2020-11-13
预估到期
2030-01-08
| 申请号 | CN202020039047.X |
| 申请日 | 2020-01-08 |
| 授权公布号 | CN211914008U |
| 授权公告日 | 2020-11-13 |
| 分类号 | B02C18/00 |
| 分类 | 破碎、磨粉或粉碎;谷物碾磨的预处理; |
| 申请人名称 | 淮南市焦岗湖忠辉食品有限公司 |
| 申请人地址 | 安徽省淮南市毛集经济开发区文成大道西路 |
专利法律状态
2020-11-13
授权
状态信息
授权
摘要
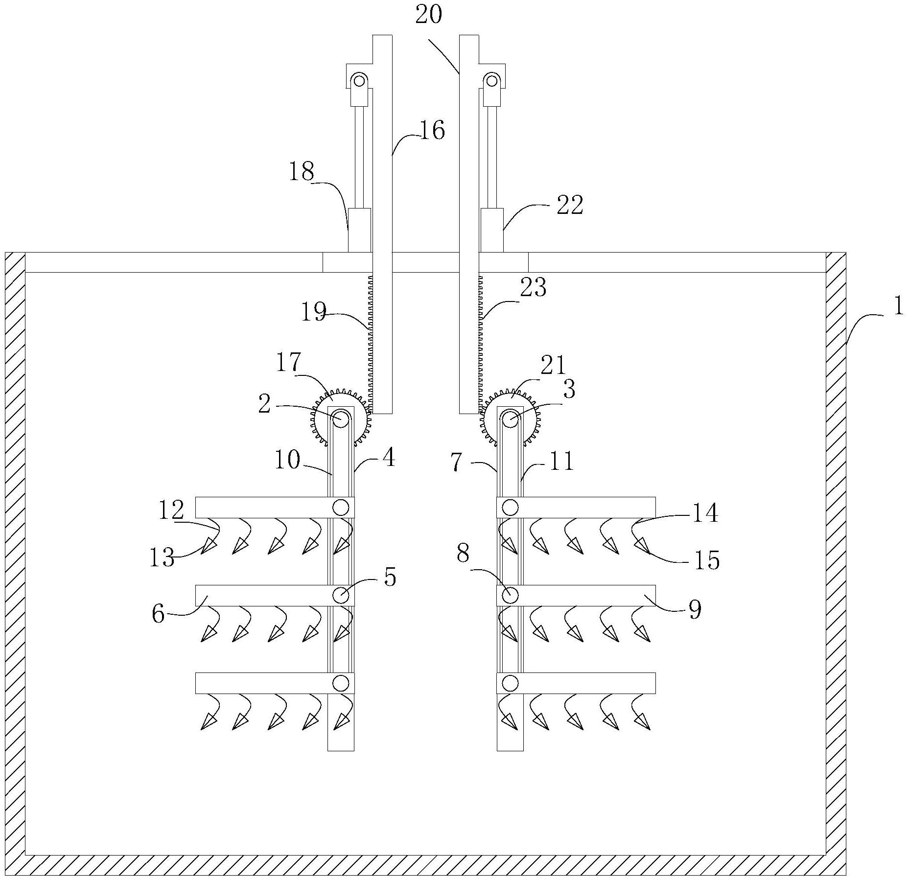
本实用新型提出了一种食品生产用原料切碎装置,包括箱体和切碎机构;切碎机构包括第一转轴、第二转轴、第一驱动单元、第二驱动单元,第一转轴、第二转轴两端均分别与箱体两侧内壁转动连接;第一转轴上固定连接有至少一个第一搅拌板,第一搅拌板上沿其长度方向间隔布置有多个第一连接轴,第一连接轴上固定连接有第一搅拌杆,第一搅拌杆上分布有多个第一切碎件;第二转轴上固定连接有至少一个第二搅拌板,第二搅拌板上沿其长度方向间隔布置有多个第二连接轴,第二连接轴上固定连接有第二搅拌杆,第二搅拌杆上分布有多个第二切碎件。本实用新型实现切碎的同时还能够对原料进行搅拌,使得切碎后的物料大小均匀一致,提高切碎效果。


