授权公布号:CN213486740U
一种具有杀菌功能的食品生产加工用存储设备
有效
申请
2020-09-28
申请公布
1970-01-01
授权
2021-06-22
预估到期
2030-09-28
| 申请号 | CN202022167636.9 |
| 申请日 | 2020-09-28 |
| 授权公布号 | CN213486740U |
| 授权公告日 | 2021-06-22 |
| 分类号 | A23L3/16;A23L3/36;A23L3/28;F25D31/00 |
| 分类 | 其他类不包含的食品或食料;及其处理; |
| 申请人名称 | 淮南市焦岗湖忠辉食品有限公司 |
| 申请人地址 | 安徽省淮南市毛集经济开发区文成大道西路 |
专利法律状态
2021-06-22
授权
状态信息
授权
摘要
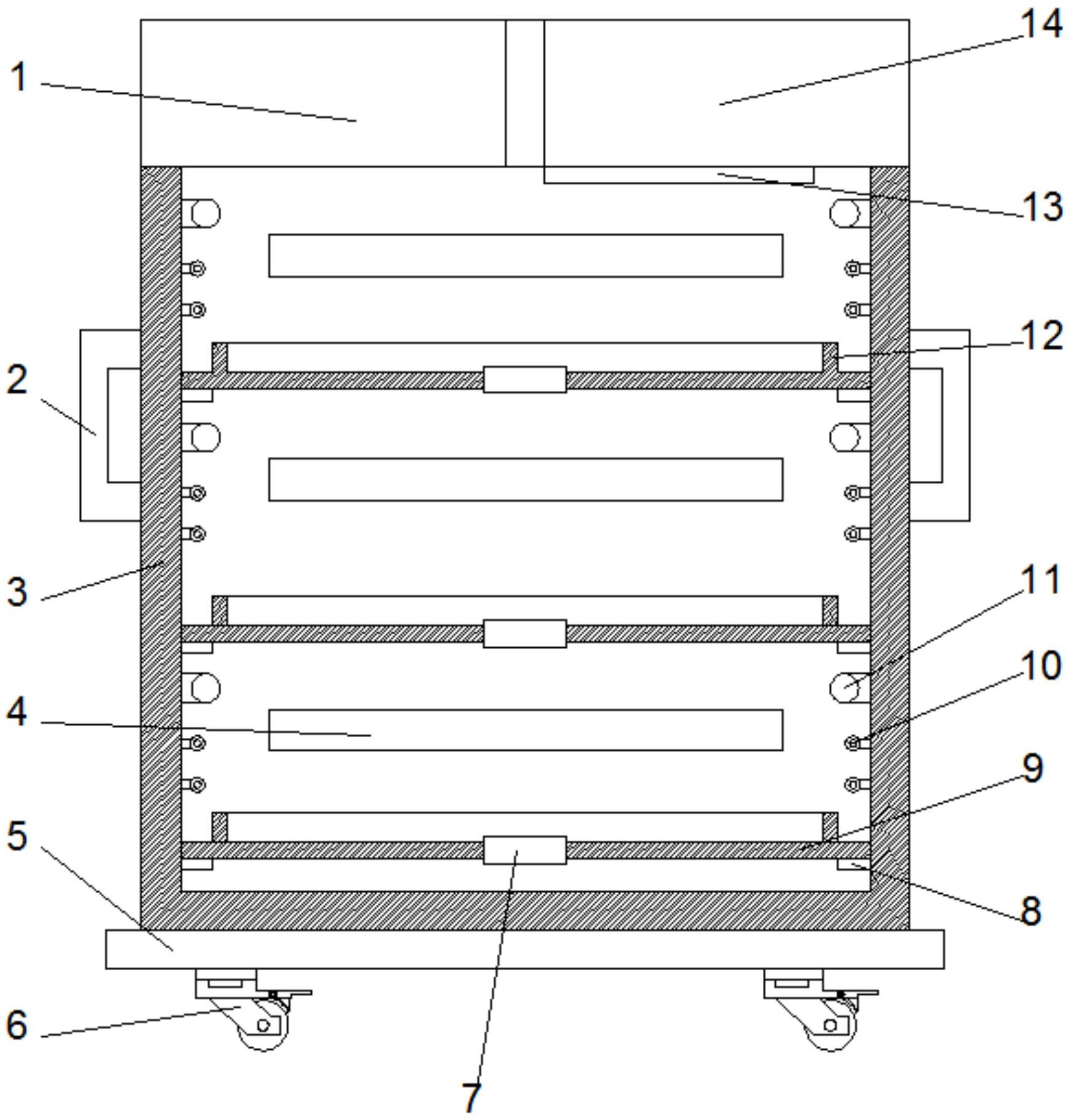
本实用新型公开了一种具有杀菌功能的食品生产加工用存储设备,包括制冷机、存储箱体、电热管、底座二,所述存储箱体的上表面安装有制冷机和真空泵,存储箱体的左右内壁对称安装有紫外线照射灯、电热管、滑动支撑杆,滑动支撑杆的上表面设有抽屉底板,抽屉底板的上表面安装有抽屉侧板,卡槽二的插有横立板,横立板的上端开设有若干个槽,横立板的槽内插有若干个纵立板,每组立柱的内侧安装有滑动轨,滑动轨上表面开设有槽,滑动轨的槽内安装有若干个滑轮,滑轮通过槽与滑动轨转动连接,底座二的下表面前后对称安装有两组转向滑动轮。本实用新型配有紫外线和真空泵,杀菌和降低细菌滋生,降低烫伤或者冻伤工作人员的风险。


