授权公布号:CN213854268U
一种食品生产加工用原料粉碎搅拌装置
有效
申请
2020-09-28
申请公布
1970-01-01
授权
2021-08-03
预估到期
2030-09-28
| 申请号 | CN202022169437.1 |
| 申请日 | 2020-09-28 |
| 授权公布号 | CN213854268U |
| 授权公告日 | 2021-08-03 |
| 分类号 | B01F13/10;B01F15/00;B01F15/06 |
| 分类 | 一般的物理或化学的方法或装置; |
| 申请人名称 | 淮南市焦岗湖忠辉食品有限公司 |
| 申请人地址 | 安徽省淮南市毛集经济开发区文成大道西路 |
专利法律状态
2021-08-03
授权
状态信息
授权
摘要
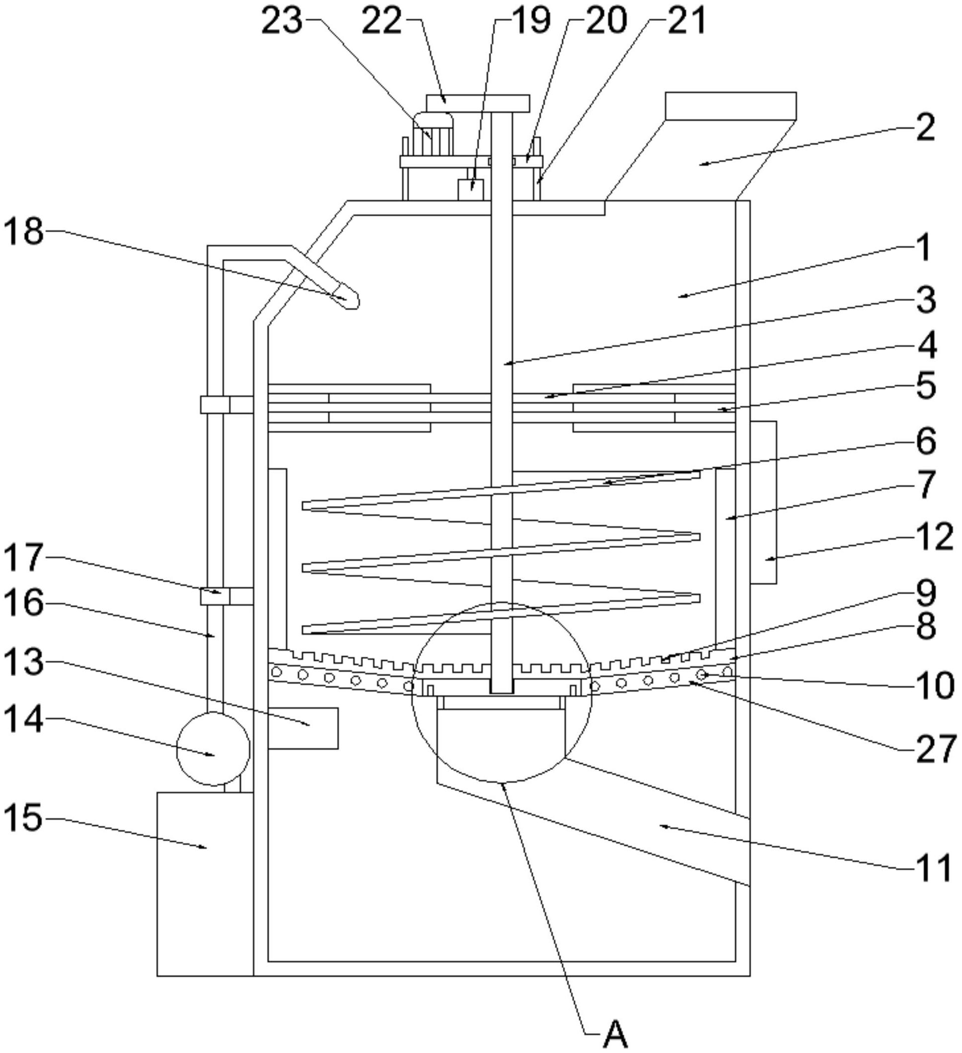
本实用新型公开了一种食品生产加工用原料粉碎搅拌装置,包括装置主体,所述装置主体顶部设有进料管,装置主体内转动连接有搅拌轴,装置主体内固定连接有定刀片,搅拌轴外固定连接有动刀片,动刀片和定刀片均设有若干个,搅拌轴外固定连接有搅拌叶,搅拌轴底部固定连接有底刮刀,底刮刀设有若干个,底刮刀上固定连接有侧刮刀,底刮刀内设有刮刀槽。本实用新型使用时,在粉碎和搅拌后对装置主体内部进行清洗,去除装置主体内壁附着的油污和食品残渣,避免其在下一次工作时与新的食品混合,提高产品质量;通过加热器和加热管之间的配合,在清洗过程中对水进行加热,使装置主体内壁升温,从而使内壁凝固的油污融化,便于刮除,提高清洁效果。


