授权公布号:CN216180842U
一种腌肉处理用切片装置
有效
申请
2021-09-26
申请公布
1970-01-01
授权
2022-04-05
预估到期
2031-09-26
| 申请号 | CN202122331277.0 |
| 申请日 | 2021-09-26 |
| 授权公布号 | CN216180842U |
| 授权公告日 | 2022-04-05 |
| 分类号 | B26D1/09;B26D5/08;B26D7/06;B26D7/32 |
| 分类 | 手动切割工具;切割;切断; |
| 申请人名称 | 淮南市焦岗湖忠辉食品有限公司 |
| 申请人地址 | 安徽省淮南市毛集经济开发区文成大道西路 |
专利法律状态
2022-04-05
授权
状态信息
授权
摘要
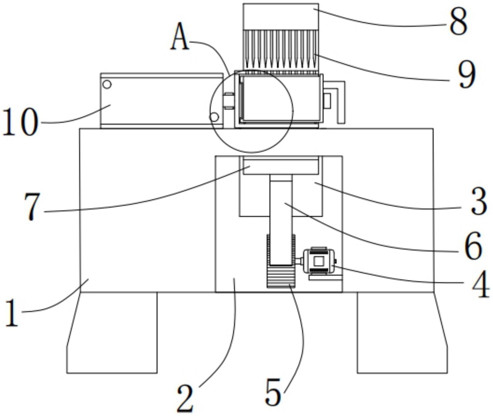
本实用新型公开了一种腌肉处理用切片装置。所述腌肉处理用切片装置包括:机座、切片机构和推料机构,所述切片机构设置在机座上,所述推料机构设置在机座上;所述切片机构包括凹槽、两个活动槽、电机、齿轮、连板、安装板、门形块和多个切刀,所述凹槽开设在机座底部,两个所述活动槽均开设在机座的顶部,所述凹槽与两个活动槽相连通,所述电机固定安装在凹槽的一侧内壁上。本实用新型提供的腌肉处理用切片装置可以提高腌肉切片的效率,方便快速的推料与上料,避免工人受伤的优点。


