授权公布号:CN217651363U
羊绒分梳机的快速清理机构
有效
申请
2022-05-13
申请公布
1970-01-01
授权
2022-10-25
预估到期
2032-05-13
| 申请号 | CN202221158367.2 |
| 申请日 | 2022-05-13 |
| 授权公布号 | CN217651363U |
| 授权公告日 | 2022-10-25 |
| 分类号 | D01G15/82 |
| 分类 | 天然或人造的线或纤维;纺纱或纺丝; |
| 申请人名称 | 帕罗羊绒制品有限公司 |
| 申请人地址 | 浙江省湖州市吴兴区织里镇帕罗路288号 |
专利法律状态
2022-10-25
授权
状态信息
授权
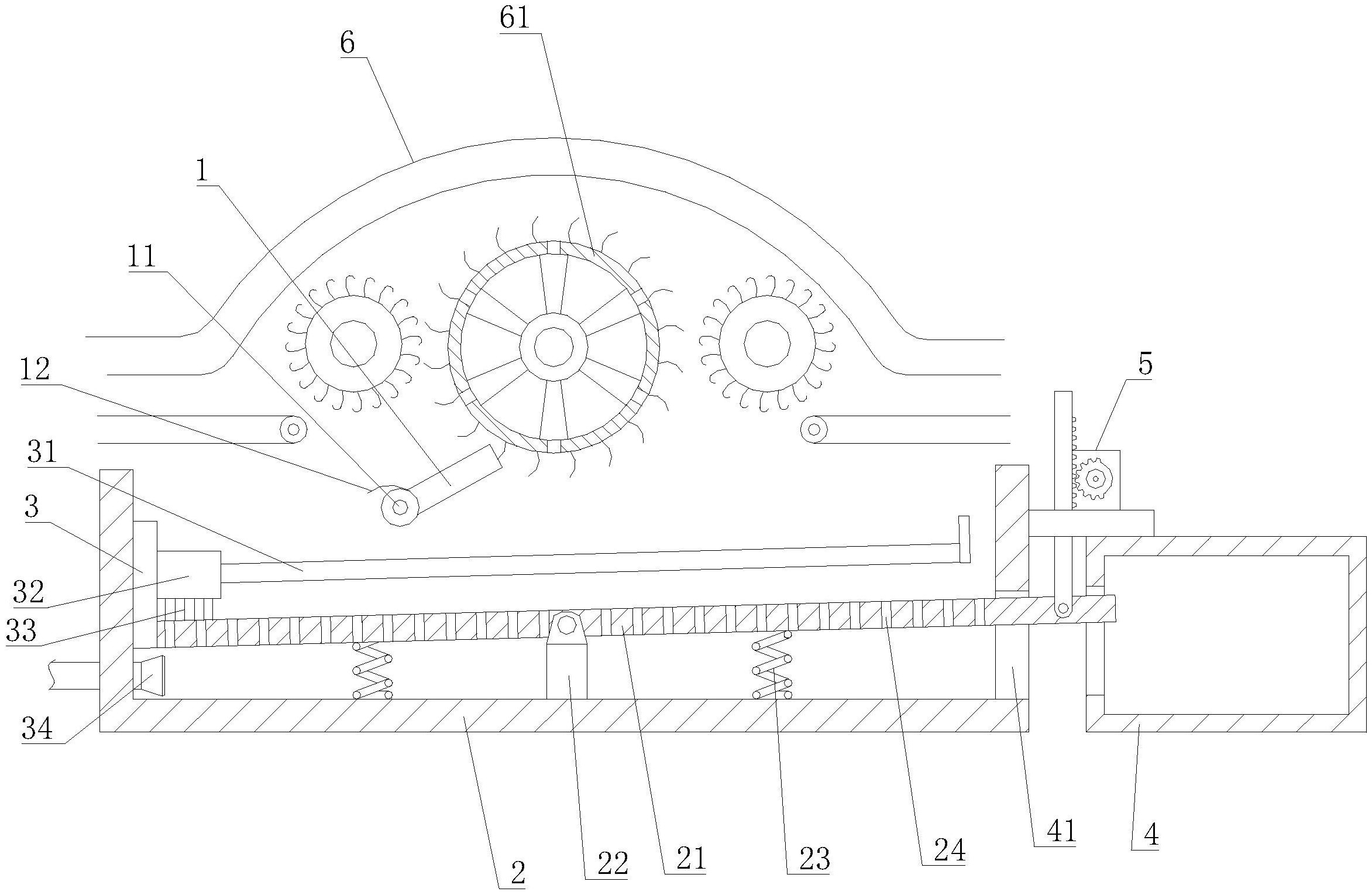
摘要
本实用新型公开了一种羊绒分梳机的快速清理机构,包括设置在分梳辊下方用于清理分梳辊的刮板,刮板的下方设有收集箱,收集箱内设有隔离板,隔离板和收集箱之间设有与隔离板转动连接的支杆,支杆的两侧设有支撑隔离板在平衡状态下呈向远离杂物箱一侧倾斜的弹簧;所述隔离板的一端经挡板连接有与隔离板平行的导向杆,导向杆上滑动连接有导向块,导向块的底部设有清洁刷,隔离板的另一端伸出收集箱并伸入到杂物箱内,隔离板的伸出端上连接有自动驱动隔离板摆动的驱动装置。本实用新型具有不停机地自动清理杂质的特点。


