授权公布号:CN210928928U
一种便于安装拆卸的银耳种植架
有效
申请
2019-11-05
申请公布
1970-01-01
授权
2020-07-07
预估到期
2029-11-05
| 申请号 | CN201921890785.9 |
| 申请日 | 2019-11-05 |
| 授权公布号 | CN210928928U |
| 授权公告日 | 2020-07-07 |
| 分类号 | A01G18/62;A01G18/70 |
| 分类 | 农业;林业;畜牧业;狩猎;诱捕;捕鱼; |
| 申请人名称 | 四川裕德源生态农业科技有限公司 |
| 申请人地址 | 四川省巴中市通江县诺江镇壁山东路100号 |
专利法律状态
2020-07-07
授权
状态信息
授权
摘要
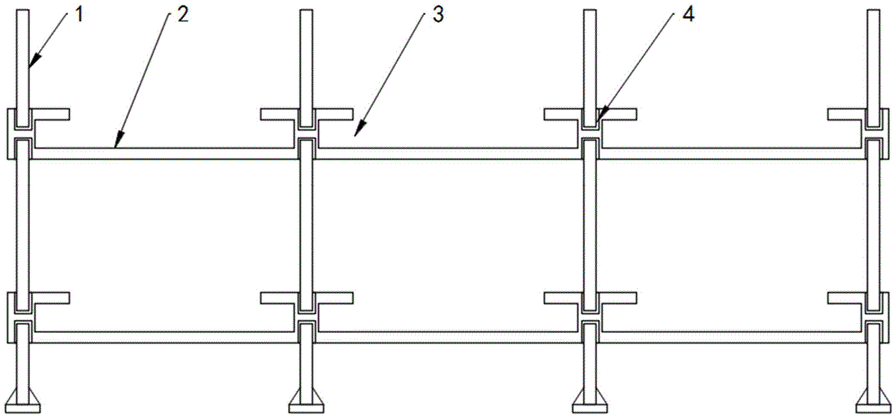
本实用新型公开了一种便于安装拆卸的银耳种植架,包括立杆,还包括横板,所述横板的上端面等距开设有多个滑槽,所述横板的上下端面对称开设有滑孔,所述滑孔位于相邻滑槽之间,所述立杆插接在上下相邻的两个滑孔之间,所述滑槽的内侧滑动连接有种植台。本实用新型中,通过银耳种植架由立杆、横板、种植台和顶架组成,种植架通过多个水平的横板之间竖直插接立杆,种植台与横板滑动连接,顶架和种植台滑动连接,种植台与横板通过第一限位孔内插入插销稳固,顶架和种植台通过第二限位孔内插入插销稳固,从而实现了一种便于拆装的银耳种植架,提高了银耳种植架加工,运输和循环使用的便捷性。


