授权公布号:CN202043473U
改进的金针菇育菇房
失效
申请
2011-03-05
申请公布
1970-01-01
授权
2011-11-23
预估到期
2021-03-05
| 申请号 | CN201120064938.1 |
| 申请日 | 2011-03-05 |
| 授权公布号 | CN202043473U |
| 授权公告日 | 2011-11-23 |
| 分类号 | A01G1/04 |
| 分类 | 农业;林业;畜牧业;狩猎;诱捕;捕鱼; |
| 申请人名称 | 天水众兴菌业科技股份有限公司 |
| 申请人地址 | 甘肃省天水市麦积区中滩镇高新科技农业园区众兴菌业有限责任公司 |
专利法律状态
2021-03-23
专利权的终止
状态信息
专利权有效期届满;IPC(主分类):A01G1/04;申请日:20110305;授权公告日:20111123
2012-07-18
专利权人的姓名或者名称、地址的变更
状态信息
专利权人的姓名或者名称、地址的变更;IPC(主分类):A01G1/04;变更事项:专利权人;变更前:天水众兴菌业有限责任公司;变更后:天水众兴菌业科技股份有限公司;变更事项:地址;变更前:741030 甘肃省天水市麦积区中滩镇高新科技农业园区众兴菌业有限责任公司;变更后:741030 甘肃省天水市麦积区中滩镇高新科技农业园区众兴菌业有限责任公司
2011-11-23
授权
状态信息
授权
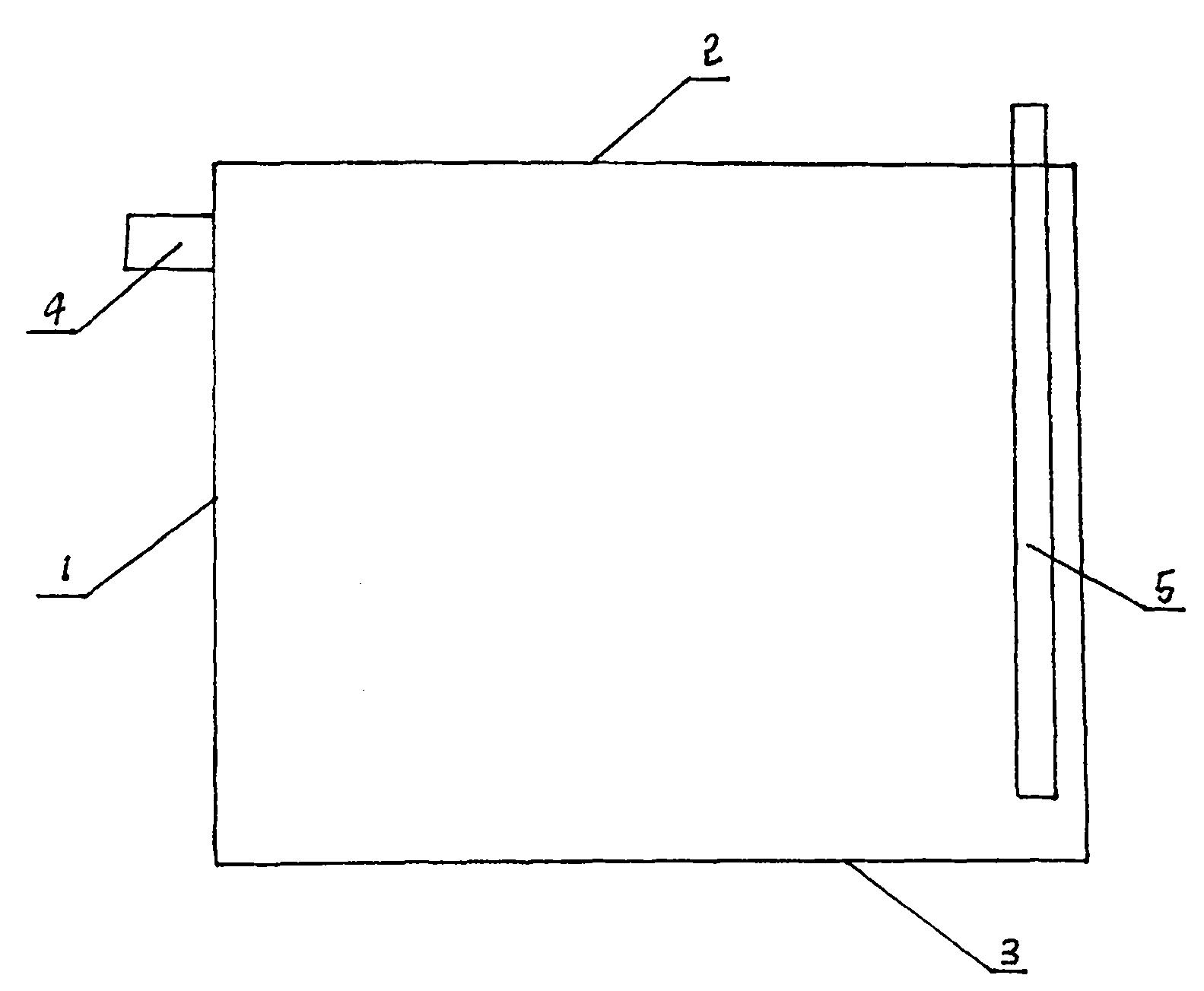
摘要
本实用新型公开了一种改进的金针菇育菇房,它能够改善育菇房空气的对流,提高安全性,从而缩短金针菇的培育时间。本实用新型包括墙体(1)、房顶(2)、地板(3),墙体(1)上部设置进风口(4),在房顶(2)上距所述进风口(4)最远处安装出气管(5),该出气管(5)具有管状结构并延伸至地板(3)附近。


