授权公布号:CN214649245U
食用菌袋装食品包装下料装置
有效
申请
2020-12-31
申请公布
1970-01-01
授权
2021-11-09
预估到期
2030-12-31
| 申请号 | CN202023336055.X |
| 申请日 | 2020-12-31 |
| 授权公布号 | CN214649245U |
| 授权公告日 | 2021-11-09 |
| 分类号 | B65B25/00;B65B39/00;B65B43/26;B65B31/04;B65B43/12 |
| 分类 | 输送;包装;贮存;搬运薄的或细丝状材料; |
| 申请人名称 | 浙江百兴食品有限公司 |
| 申请人地址 | 浙江省丽水市庆元县工业园区五都工业园曙光路11号 |
专利法律状态
2021-11-09
授权
状态信息
授权
摘要
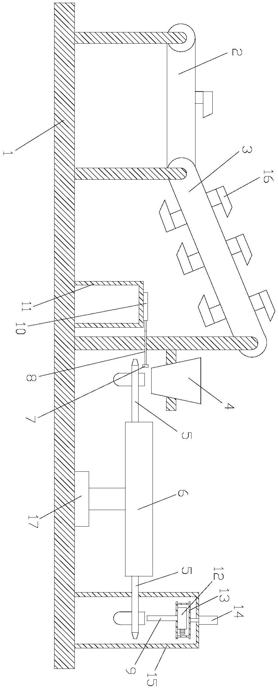
一种食用菌袋装食品包装下料装置,包括机架,机架的一侧设置有输送带一、输送带二,输送带二输出端的下方设置有出料斗,出料斗的出口处设置有夹持住食用菌包装袋的气动抓手,气动抓手上连接有带动气动抓手转动的转盘,转盘设置在机架上,转盘的一侧设置有吸盘,吸盘上连接有推杆,推杆设置在机架上,转盘的另一侧设置有抽气管,抽气管设置在机架上。本实用新型的食用菌袋装食品包装下料装置,实现了自动化下料的过程,减少了人工操作,提高了食用菌袋装食品生产的工作效率,提高了生产效率,降低了人工成本,降低了生产成本,使用效果好,利于推广。


