授权公布号:CN211707560U
灰树花清洗装置
有效
申请
2019-12-31
申请公布
1970-01-01
授权
2020-10-20
预估到期
2029-12-31
| 申请号 | CN201922498471.0 |
| 申请日 | 2019-12-31 |
| 授权公布号 | CN211707560U |
| 授权公告日 | 2020-10-20 |
| 分类号 | B08B3/06;B08B13/00 |
| 分类 | 清洁; |
| 申请人名称 | 浙江百兴食品有限公司 |
| 申请人地址 | 浙江省丽水市庆元县工业园区五都工业园曙光路11号 |
专利法律状态
2021-11-09
专利实施许可合同备案的生效、变更及注销
状态信息
专利实施许可合同备案的生效;IPC(主分类):B08B3/06;合同备案号:X2021330000570;让与人:浙江百兴食品有限公司;受让人:浙江蕴本生物科技有限公司;实用新型名称:灰树花清洗装置;申请日:20191231;授权公告日:20201020;许可种类:普通许可;备案日期:20211022
2020-10-20
授权
状态信息
授权
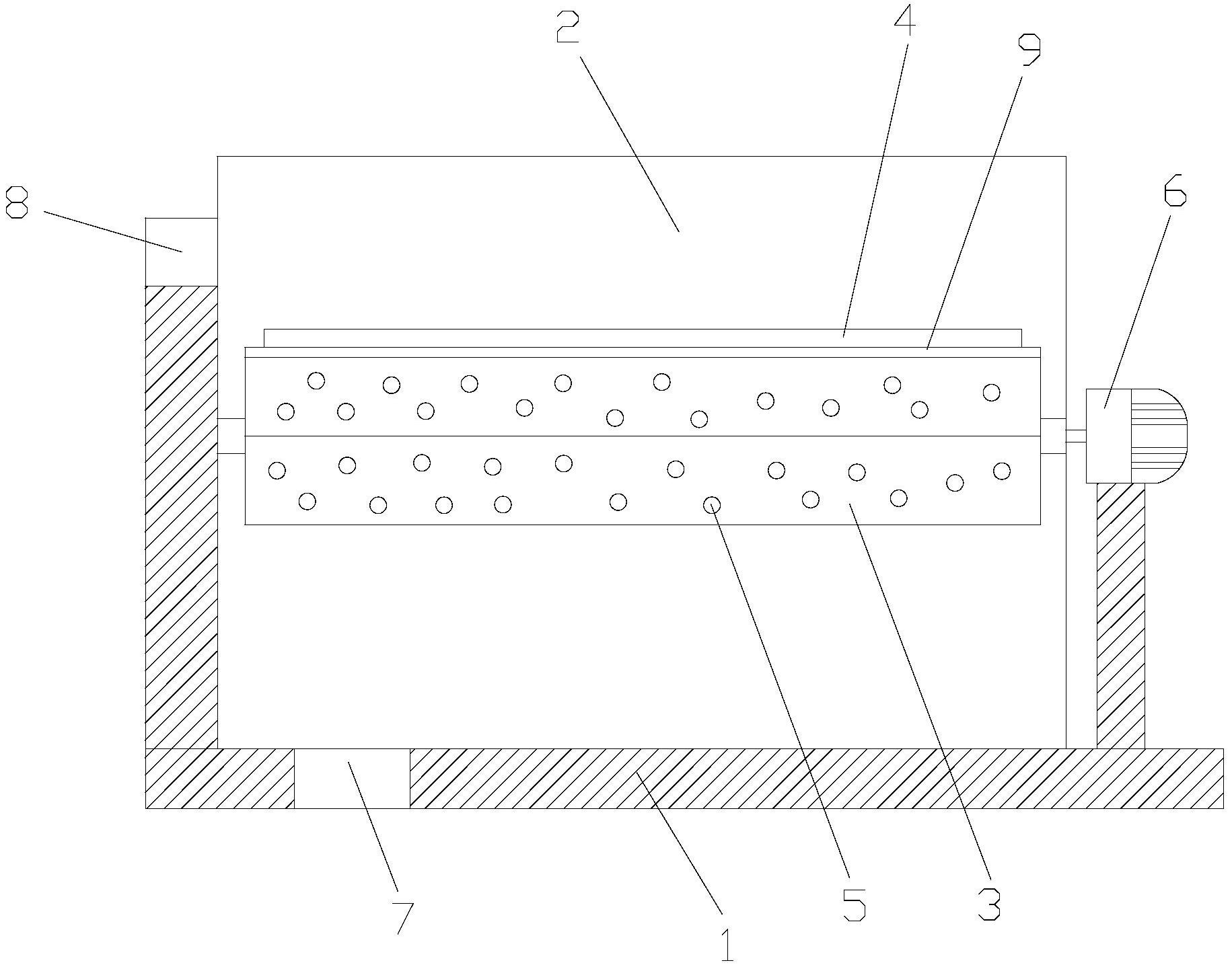
摘要
一种灰树花清洗装置,包括机架,机架上设置有清洗箱,清洗箱内设置有滚筒,滚筒的表面上设置有从滚筒上表面打开的上盖,滚筒的表面上设置有一组排污孔。本实用新型有益的效果是:通过滚筒滚动对灰树花进行翻滚式清洗,清洗彻底,清洗效果好,保证了灰树花的品质,提高了灰树花的清洗质量,使用效果好,利于推广。


