授权公布号:CN217511273U
一种羊绒纱线生产废水处理装置
有效
申请
2022-04-22
申请公布
1970-01-01
授权
2022-09-30
预估到期
2032-04-22
| 申请号 | CN202220960946.2 |
| 申请日 | 2022-04-22 |
| 授权公布号 | CN217511273U |
| 授权公告日 | 2022-09-30 |
| 分类号 | B01D29/03;B01D29/64 |
| 分类 | 一般的物理或化学的方法或装置; |
| 申请人名称 | 帕罗羊绒制品有限公司 |
| 申请人地址 | 浙江省湖州市吴兴区织里镇帕罗路288号 |
专利法律状态
2022-09-30
授权
状态信息
授权
2022-04-22
公布
状态信息
公布
摘要
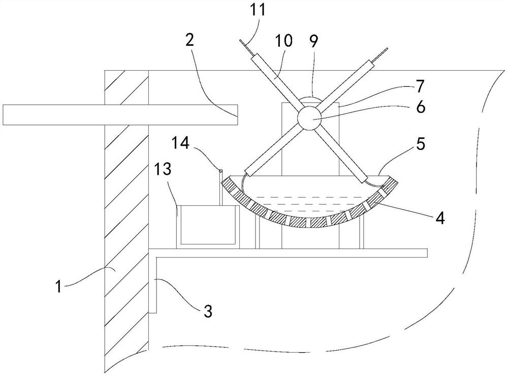
本实用新型公开了一种羊绒纱线生产废水处理装置,包括多个串联的废水池(1),第一级的废水池(1)的上方设有进水口(2),进水口(2)的下方设有绒毛过滤机构,所述绒毛过滤机构包括位于进水口(2)下方的支架(3),支架(3)与废水池(1)的侧壁固定,支架(3)上设有截面为圆弧形的过滤板(4),过滤板(4)上设有多个滤水孔,过滤板(4)的两端均设有挡水板(5),过滤板(4)的上方设有绒毛清理机构,绒毛清理机构的一侧设有绒毛储存机构。本实用新型具有不易堵塞的优点,降低了工人的劳动强度。


