授权公布号:CN215276796U
一种粽子加工用原料混合装置
有效
申请
2021-02-02
申请公布
1970-01-01
授权
2021-12-24
预估到期
2031-02-02
| 申请号 | CN202120294421.5 |
| 申请日 | 2021-02-02 |
| 授权公布号 | CN215276796U |
| 授权公告日 | 2021-12-24 |
| 分类号 | B01F7/18;B01F15/00;B01F15/02 |
| 分类 | 一般的物理或化学的方法或装置; |
| 申请人名称 | 湘潭弘茂湘莲产业发展有限责任公司 |
| 申请人地址 | 湖南省衡阳市湘潭县天易生态工业园荷花中路88号 |
专利法律状态
2021-12-24
授权
状态信息
授权
摘要
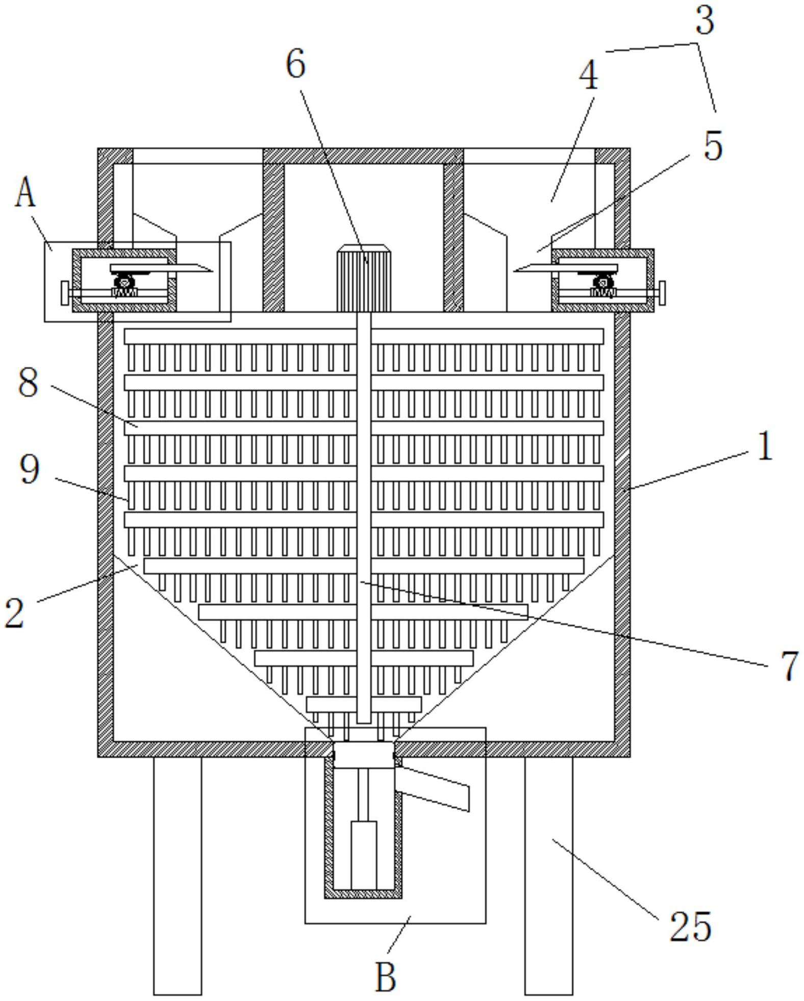
本实用新型涉及食品加工技术领域,特别是涉及一种粽子加工用原料混合装置,包括机体,机体呈圆柱体型,机体内设有搅拌仓,搅拌仓内设有搅拌装置,搅拌仓上方设有多个进料腔,多个进料腔的结构一致,进料腔包括储料部,以及位于储料部下方的下料部,储料部的底部呈漏斗型,下料部的一侧设有流量控制机构,搅拌仓底部设有出料机构。该装置有多个进料腔,可以分别放置不同种类的原料,使不同种类的原料同时下料,并且通过流量控制机构控制进料腔的下料速度,使不同的进料腔按照一定的比例进行下料。


