授权公布号:CN218987023U
一种月饼用装箱台
有效
申请
2023-01-05
申请公布
1970-01-01
授权
2023-05-09
预估到期
2033-01-05
| 申请号 | CN202320021511.6 |
| 申请日 | 2023-01-05 |
| 授权公布号 | CN218987023U |
| 授权公告日 | 2023-05-09 |
| 分类号 | B65B11/02;B65B25/16;B65B41/12;B65H19/12;B65H16/06;B65B5/06;B65B35/40 |
| 分类 | 输送;包装;贮存;搬运薄的或细丝状材料; |
| 申请人名称 | 湘潭弘茂湘莲产业发展有限责任公司 |
| 申请人地址 | 湖南省湘潭市湘潭县天易生态工业园荷花中路88号 |
专利法律状态
2023-05-09
授权
状态信息
授权
摘要
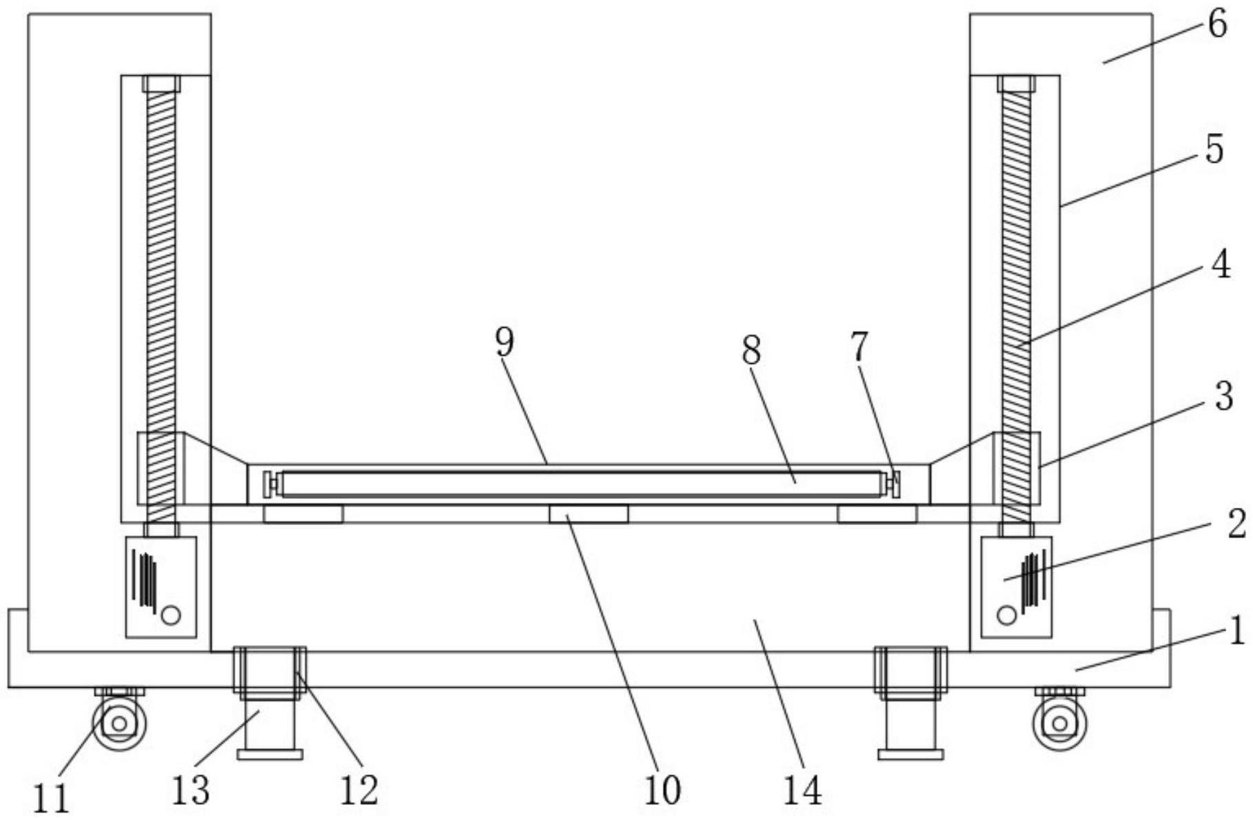
本实用新型公开了一种月饼用装箱台,包括:支撑底架和侧支撑架;所述侧支撑架设置有两个,两个所述侧支撑架位于支撑底架的两侧,两个所述侧支撑架相对的一侧设置有升降机构,所述升降机构的一侧通过连接架连接有月饼装箱平台;所述月饼装箱平台的一侧设置有固定支架和移动支架,所述月饼装箱平台的一侧与移动支架的对应位置处设置有支架移动槽,所述移动支架通过滑块与支架移动槽滑动连接,所述支架移动槽的内部设置有防滑橡胶垫,所述固定支架和移动支架相对的一侧通过定位圆杆安装有保鲜膜卷;升降机构可带动月饼装箱平台上的月饼调节到合适高度,便于对装箱台上的月饼进行装箱,并保证了月饼在装箱台上的清洁卫生。


