授权公布号:CN215276925U
一种月饼馅料的搅拌装置
有效
申请
2021-02-02
申请公布
1970-01-01
授权
2021-12-24
预估到期
2031-02-02
| 申请号 | CN202120290099.9 |
| 申请日 | 2021-02-02 |
| 授权公布号 | CN215276925U |
| 授权公告日 | 2021-12-24 |
| 分类号 | B01F7/24;B01F15/00;A23P30/00 |
| 分类 | 一般的物理或化学的方法或装置; |
| 申请人名称 | 湘潭弘茂湘莲产业发展有限责任公司 |
| 申请人地址 | 湖南省湘潭市湘潭县天易生态工业园荷花中路88号 |
专利法律状态
2021-12-24
授权
状态信息
授权
摘要
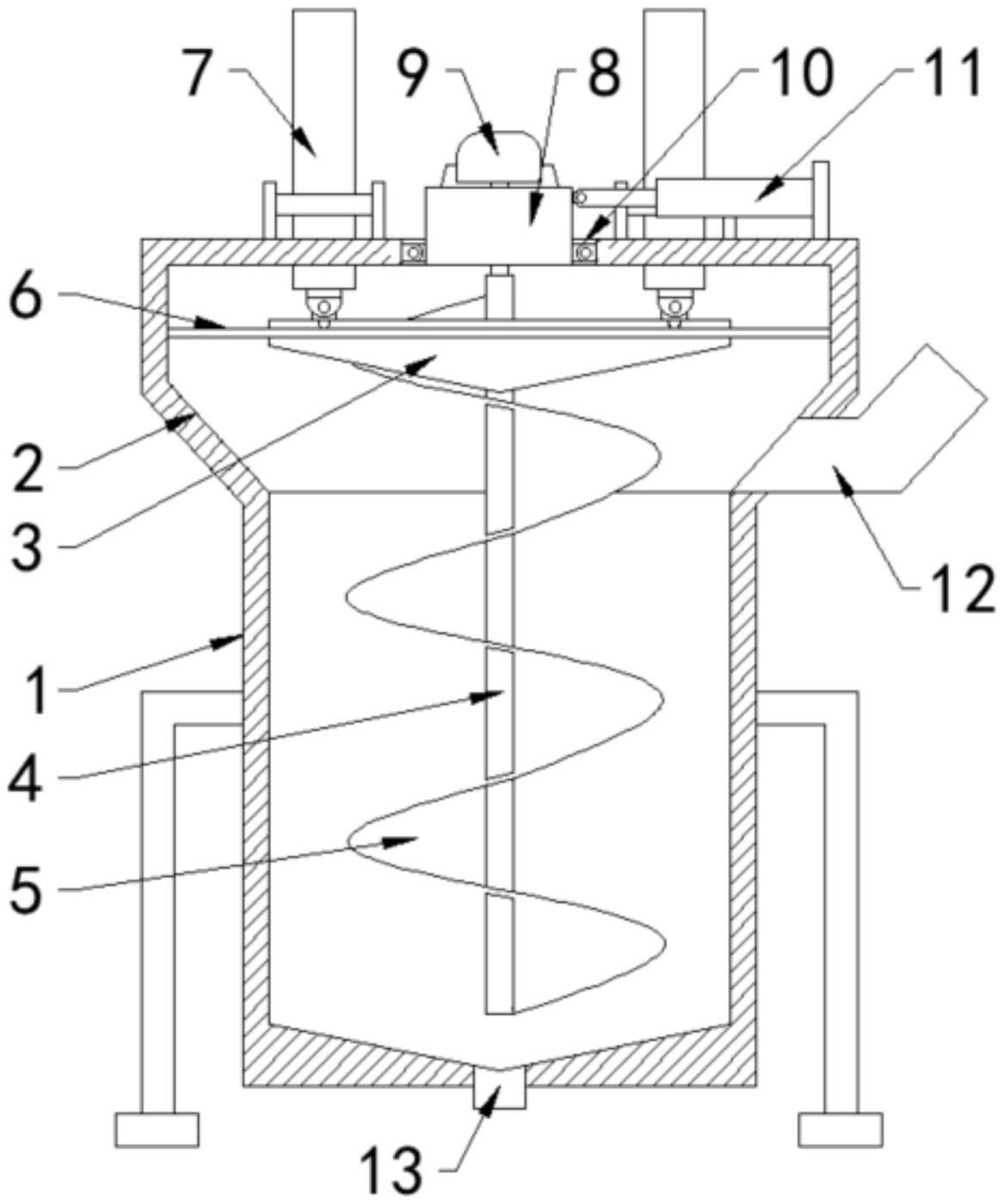
本实用新型公开了一种月饼馅料的搅拌装置,包括搅拌桶,所述搅拌桶的顶部安装有投料口,所述搅拌桶的中部安装有中心轴,所述中心轴上呈螺纹盘旋有螺旋板,所述搅拌桶的顶部安装有用于驱动中心轴转动的马达,所述中心轴上套设有锥盘,所述锥盘上开设有滑孔,所述滑孔的内壁与螺旋板和中心轴的外壁贴合。本实用新型通过启动第一气缸,以推动锥盘沿螺旋板螺旋向下运动,对螺旋板外壁和搅拌桶的内壁的馅料下刮,直至锥盘的底部与搅拌桶的底部相抵,以实现馅料最大程度的从搅拌桶底部下凹的锥形结构的底部中心位置的出料口排出,从而大大提高了馅料排出的完全性,降低了残余馅料残留在搅拌桶内的情况发生。


