授权公布号:CN218985038U
一种糕点生产用的切条装置
有效
申请
2022-12-29
申请公布
1970-01-01
授权
2023-05-09
预估到期
2032-12-29
| 申请号 | CN202223551742.2 |
| 申请日 | 2022-12-29 |
| 授权公布号 | CN218985038U |
| 授权公告日 | 2023-05-09 |
| 分类号 | B26D7/26 |
| 分类 | 手动切割工具;切割;切断; |
| 申请人名称 | 湘潭弘茂湘莲产业发展有限责任公司 |
| 申请人地址 | 湖南省湘潭市湘潭县天易生态工业园荷花中路88号 |
专利法律状态
2023-05-09
授权
状态信息
授权
摘要
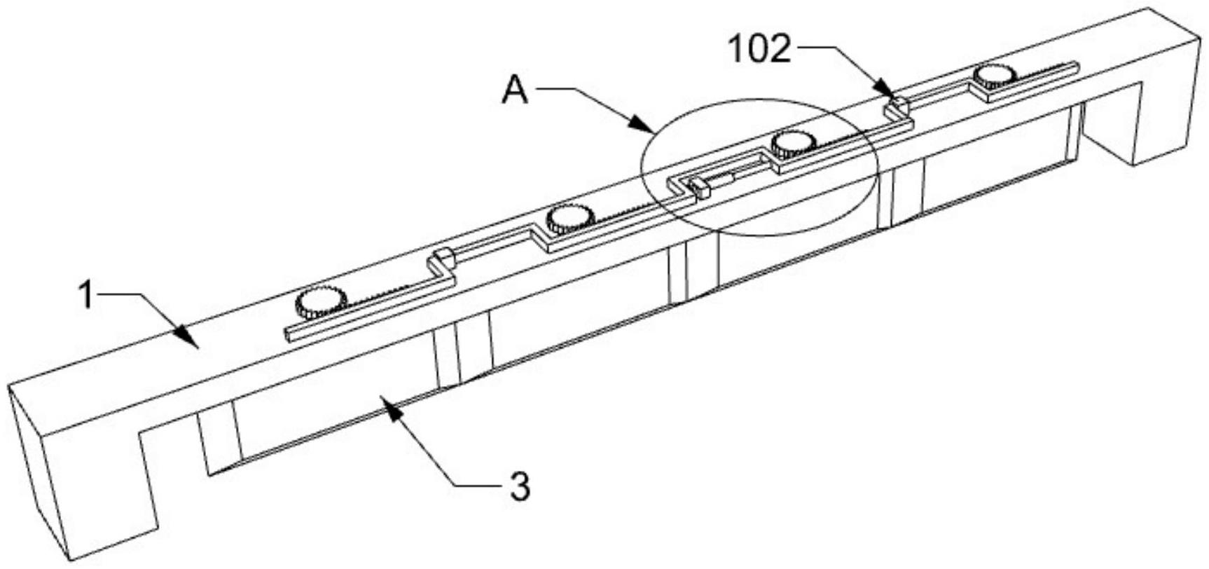
本实用新型公开了一种糕点生产用的切条装置,包括:架体;至少两个刀,每个所述刀两端和底部均形成有刀口,每个所述刀顶部固定有旋转杆,刀通过旋转杆与所述架体转动连接;支架,在所述架体上移动,所述支架通过移动带动所述旋转杆旋转;伸缩件,连接在所述支架和所述架体之间。所述旋转杆顶部固定有齿轮,所述支架上固定有齿,所述齿与所述齿轮啮合。所述伸缩件一端与所述架体固定,另一端与所述支架固定。所述架体上固定有限位架,所述支架在所述限位架内滑动。通过在刀具上安装旋转杆,并且利用外力由旋转杆带动刀具旋转,从而改变刀具的朝向,做到对糕点横向切和纵向切的条件。


